Operation CHARM: Car repair manuals for everyone.
Manuals through 2025 now available!

Our trusted friends have launched a new website named LEMON, which has newer manuals. It also contains all the CHARM manuals.

LEMON is the spiritual successor to CHARM, I recommend you try it!

Link: lemon-manuals.la or lemon-manuals.org.ua

(Some people have issue connecting. LEMON is investigating. For now, use Firefox or change your DNS server)

Or, hide this message: temporarily or permanently

Vehicle Speed Sensor: Service and Repair


SPEED SENSOR, REPLACE

1. Disconnect battery ground cable, then raise and support vehicle.
2. Drain differential assembly.
3. Disconnect LH driveshaft.
4. Remove speed sensor retaining bolt, then the retaining plate.
5. Disconnect speed sensor electrical connector, then remove sensor and O-ring.
6. Reverse procedure to install.

THROTTLE CABLE, REPLACE

Removal

1. Disconnect throttle cable housing from bracket, then disconnect cable from throttle linkage.
2. Disconnect cable from clamps.
3. Remove retaining clips, then disconnect transaxle control cable from manual shift lever.
4. Remove manual shift lever, then the neutral safety switch.
5. Remove valve body. Refer to ``Valve Body, Replace'' for procedure.
6. Remove throttle cable bolt and retaining plate, then pull cable from transaxle case.

Installation

1. Insert cable into transaxle case, then install retaining plate and bolt.
2. Install valve body.


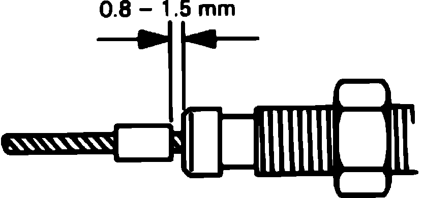
Fig. 3 Throttle cable installation:





3. Bend cable with an approximate radius of 7.87 inch, then pull inner cable slightly until resistance is felt. Stake stopper in position with .031-.059 inch clearance as shown, Fig. 3.
4. Connect cable to throttle linkage, then the cable housing to bracket.
5. Install retaining clamps.
6. Adjust throttle cable as previously described.
7. Install neutral safety switch and manual shift lever.
8. Adjust neutral safety switch as previously described, then connect transaxle control cable.
9. Road test vehicle.

VALVE BODY, REPLACE

Removal

1. Disconnect battery ground cable.
2. Raise and support vehicle, then clean exterior of transaxle case.
3. Drain transaxle fluid, then remove oil pan and gasket.
4. Remove apply tube bracket attaching bolts, then the apply tube bracket.
5. Remove oil strainer attaching bolts, then the oil strainer.
6. Disconnect solenoid connectors, then remove oil tubes.
7. Remove manual detent spring, then the manual valve and manual valve body.
8. Remove 12 valve body attaching bolts, then disconnect throttle cable from cam and remove valve body.
9. Remove second brake apply gasket.

Installation

1. Install second brake apply gasket, then hold cam down and slip cable end into slot.


Fig. 4 Valve body installation:





2. Position valve body on transaxle, then insert attaching bolts, Fig. 4, and torque to 7 ft. lbs. Valve body bolt lengths (mm) are indicated in Fig. 4.
3. Connect white shorter wire to No. 1 solenoid connector, then the longer black wire to the No. 2 solenoid connector.
4. Align manual valve with pin on manual valve in place.
5. Insert and finger tighten manual valve attaching bolts. Torque bolts to 7 ft. lbs.
6. Install detent spring, then insert and finger tighten attaching bolts. Torque bolts to 7 ft. lbs. Ensure manual lever contacts center of roller at tip of detent spring.
7. Install oil tubes, then apply tube brackets.
8. Install oil strainer, then insert attaching bolts and torque to 7 ft. lbs.
9. Insert magnet into oil pan, then install oil pan with new gasket. Insert oil pan attaching bolts, then torque to 43 inch lbs.
10. Install drain plug with new gasket and torque to 36 ft. lbs.
11. Fill transaxle to specifications, then ensure fluid is at proper level.
12. Lower, then road test vehicle.