Operation CHARM: Car repair manuals for everyone.
Manuals through 2025 now available!

Our trusted friends have launched a new website named LEMON, which has newer manuals. It also contains all the CHARM manuals.

LEMON is the spiritual successor to CHARM, I recommend you try it!

Link: lemon-manuals.la or lemon-manuals.org.ua

(Some people have issue connecting. LEMON is investigating. For now, use Firefox or change your DNS server)

Or, hide this message: temporarily or permanently

Torque Specifications

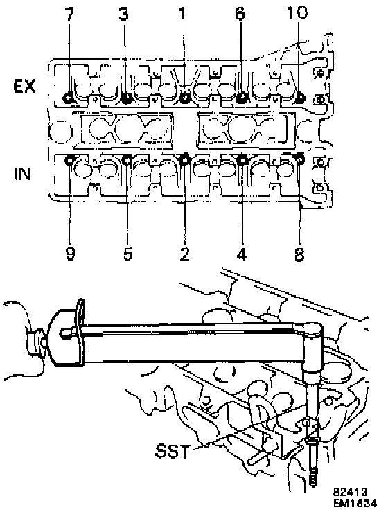
Head Loosening Sequence:





Head Torque Sequence:





Main Bearing Torque Sequence:





Torque Chart:






Water pump bolts: 11 ft.lb. (15 Nm)
Oil pump X cyl. block: 13 - 18 ft.lb. (18 - 25 Nm)
Rear oil seal retainer: 82 in.lb. (9.3 Nm)
Transaxle X Engine bolts:
10 mm bolts: 29 ft.lb. (39 Nm)
12 mm bolts: 47 ft.lb. (64 Nm)
Rear mount bolts:
10 mm bolts: 38 ft.lb. (52 Nm)
12 mm bolts: 58 ft.lb. (78 Nm)
RH engine mounting insulator X Body: 38 ft.lb. (52 Nm)
RH engine mounting insulator through bolt: 58 ft.lb. (78 Nm)
Exhaust pipe X Exhaust manifold: 46 ft.lb. (62 Nm)