Operation CHARM: Car repair manuals for everyone.
Manuals through 2025 now available!

Our trusted friends have launched a new website named LEMON, which has newer manuals. It also contains all the CHARM manuals.

LEMON is the spiritual successor to CHARM, I recommend you try it!

Link: lemon-manuals.la or lemon-manuals.org.ua

(Some people have issue connecting. LEMON is investigating. For now, use Firefox or change your DNS server)

Or, hide this message: temporarily or permanently

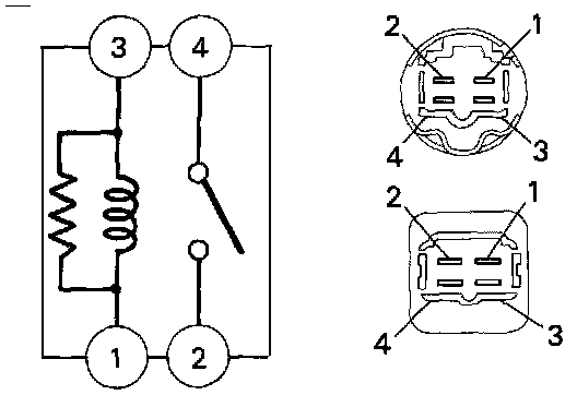
Condenser Fan Motor Relay: Testing and Inspection


A/C Relays, Sedan/Hatchback:




A/C Relay, Wagon:




Connector View:








1. Check that there is continuity between terminals 1 and 3.
2. Check that there is no continuity between terminals 2 and 4.
3. If continuity is not as specified, replace the relay.