Operation CHARM: Car repair manuals for everyone.
Manuals through 2025 now available!

Our trusted friends have launched a new website named LEMON, which has newer manuals. It also contains all the CHARM manuals.

LEMON is the spiritual successor to CHARM, I recommend you try it!

Link: lemon-manuals.la or lemon-manuals.org.ua

(Some people have issue connecting. LEMON is investigating. For now, use Firefox or change your DNS server)

Or, hide this message: temporarily or permanently

Idle Up Control Valve: Testing and Inspection

IDLE-UP AND HIGH-TEMPERATURE LINE PRESSURE UP (W A/C) SYSTEMS





INSPECTION OF IDLE-UP AND FUEL PRESSURE UP SYSTEMS





1. INSPECT IDLE-UP TEMPERATURE SWITCH.
a. Using an ohmmeter, check that there is no continuity between the terminal and body when the oil temperature is below 103°C (217°F).
b. Check that there is continuity between the terminal and body when the oil temperature is above 110°C (230°F).

If operation is not as specified, replace the switch.

2. INSPECT EFI VSV.





2A. Inspect VSV for open circuit.
Using an ohmmeter, check that there is continuity between terminals.

Resistance (Cold): 37 - 44 ohms

If there is no continuity, replace the VSV.






2B. Inspect VSV for ground.
Using an ohmmeter, check that there is no continuity between each terminal and the body.

If there is continuity, replace the VSV.

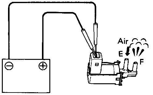
2C. Inspect VSV operation.





a. Check that air flows from pipe E to pipe F.






b. Apply battery voltage across the terminals.
c. Check that air flows from pipe E to pipe G.

If operation is not as specified, replace the VSV.

3. INSPECT ISC VSV.





3A. Inspect VSV for open circuit.
Using an ohmmeter, check that there is continuity between terminals.

Resistance (Cold): 37 - 44 ohms

If there is no continuity, replace the VSV.






3B. Inspect VSV for ground.
Using an ohmmeter, check that there is no continuity between each terminal and the body.

If there is continuity, replace the VSV.

3C. Inspect VSV operation.






a. Check that air does not flow from pipe E to pipe F.






b. Apply battery voltage across the terminals.
c. Check that air flows from pipe E to pipe F.

If operation is not as specified, replace the VSV.