Lamp Control Module: Testing and Inspection
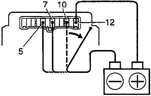
INSPECT INTEGRATION RELAY OPERATIONKey Unlock Warning System:
(a) Connect the positive (+) lead from the battery to terminal 12.
(b) Connect the negative (-) lead from the battery to terminals 5, 7 and 10.
(c) Check the chime sounds.
(d) Disconnect the negative (-) lead from the battery to terminal 10.
(e) Check that the chime stops sounding.
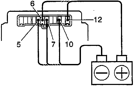
(f) Connect the negative (-) lead from the battery to terminal 10.
(g) Connect the positive (+) lead from the battery to terminal 6.
(h) Check that the chime stops sounding.
If operation is not as specified, replace the relay.
INSPECT INTEGRATION RELAY CIRCUIT
(a) Remove the relay from the junction block No.1 and in spect the connectors on the junction block side.
If circuit is as specified, try replacing the relay with a new one.
If circuit is not as specified, inspect the circuits connected to other parts.
(b) Disconnect the connector from the integration relay and inspect the connectors on the wire harness side.