Operation CHARM: Car repair manuals for everyone.
Manuals through 2025 now available!

Our trusted friends have launched a new website named LEMON, which has newer manuals. It also contains all the CHARM manuals.

LEMON is the spiritual successor to CHARM, I recommend you try it!

Link: lemon-manuals.la or lemon-manuals.org.ua

(Some people have issue connecting. LEMON is investigating. For now, use Firefox or change your DNS server)

Or, hide this message: temporarily or permanently

Cruise Control: Adjustments

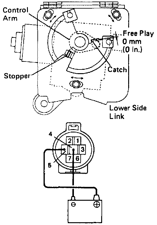
CONTROL LINK ADJUSTMENT







ASSEMBLY ADJUST CONTROL LINK
1. Connect the positive (+) lead from the battery to terminal 5 and the negative (-) lead to terminal 4 of the actuator.
(Magnetic clutch turned ON)

NOTE: Keep the magnetic clutch ON until adjustment of control link assembly is completed.







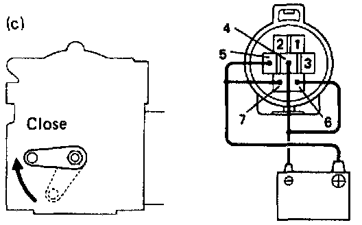
2. With the magnetic clutch ON. connect the positive (+) lead from the battery to terminal 6 and the negative (-) lead to terminal 7.
(Arm moves to the open side).

3. With the magnetic clutch ON, connect the positive (+) lead from the battery to terminal 7 and the negative (-) lead to terminal 6.
(Arm moves to the close side).

4. Install the control link assembly to the actuator.







5. Rotate the control link assembly so that the catch of the control link assembly's lower side comes in contact with the actuator control arm (Free play 0)

Free play:
0 mm (0 in.)

NOTE: Rotate the lower side link to the right until it touches the stopper.

6. In condition (d), install and torque the three nuts.
7. Disconnect lead wire from the actuator.