Operation CHARM: Car repair manuals for everyone.
Manuals through 2025 now available!

Our trusted friends have launched a new website named LEMON, which has newer manuals. It also contains all the CHARM manuals.

LEMON is the spiritual successor to CHARM, I recommend you try it!

Link: lemon-manuals.la or lemon-manuals.org.ua

(Some people have issue connecting. LEMON is investigating. For now, use Firefox or change your DNS server)

Or, hide this message: temporarily or permanently

Power Window Motor: Testing and Inspection


POWER WINDOW MOTOR INSPECTION


1. INSPECT LEFT SIDE DOOR MOTOR OPERATION







Front Door:
2. Connect the positive (+) lead from the battery to terminal 3 and the negative (-) lead to terminal 1, and check that the motor turns clockwise.
b. Reverse the polarity, and check that the motor turns counterclockwise.

If operation is not as specified, replace the motor.







Rear Door:
a. Connect the positive (+) lead from the battery to terminal 1 and the negative (-) lead to terminal 2, and check that the motor turns counterclockwise.
b. Reverse the polarity, and check that the motor turns clockwise.

If operation is not as specified, replace the motor.

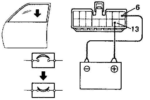
2. INSPECT LEFT SIDE PTC OPERATION


Driver's Door:







a. Disconnect the connector from the master switch.
b. Connect the positive (+) lead from the battery to terminal 6 and the negative (-) lead to terminal 13 on the wire harness side connector and raise the window to full closed position.
c. Continue to apply voltage, check that the current changes from approximately 14 A to less that 1 A within 4 to 90 seconds.







d. Disconnect the leads from terminals.
e. After approximately 90 seconds, connect the positive (+) lead from the battery to terminal 13 and negative (-) lead to terminal 6, check that the window begins to descend.

If operation is not as specified, replace the motor.

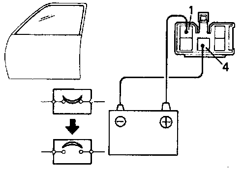
Passenger's Door:







a. Disconnect the connector from the power window switch.
b. Connect the positive (+) lead from the battery to terminal 1 and the negative (-) lead to terminal 4 on the wire harness side connector. and raise the window to full closed position.
c. Connect the positive (+) lead from the battery to terminal 1 on the wire harness side connector.







d. Disconnect the leads from terminals.
e. After approximately 90 seconds, connect the positive (+) lead from the battery to terminal 4 and negative (-) lead to terminal 1. check that the window begins to descend.

If operation is not as specified, replace the motor.


3. INSPECT RIGHT SIDE DOOR MOTOR OPERATION







Front Door:
a. Connect the positive (+) lead from the battery to terminal 1 and the negative (-) lead to terminal 3, and check that the motor turns clockwise.
b. Reverse the polarity, and check that the motor turns counterclockwise.







Rear Door:
a. Connect the positive (+) lead from the battery to terminal 2 and the negative (-) lead to terminal 1, and check that the motor turns counterclockwise.
b. Reverse the polarity, and check that the motor turns clockwise.

If operation is not as specified, replace the motor.

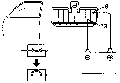
4. INSPECT RIGHT SIDE PTC OPERATION


Driver's Door:







a. Disconnect the connector from the master switch.
b. Connect the positive (+) lead from the battery to terminal 6 and the negative (-) lead to terminal 13 on the wire harness side connector and raise the window to full closed position.
c. Continue to apply voltage, check that the current changes from approximately 14 A to less that 1 A within 4 to 90 seconds.







d. Disconnect the leads from terminals.
e. After approximately 90 seconds, connect the positive (+) lead from the battery to terminal 13 and negative (-) lead to terminal 6, check that the window begins to descend.

If operation is not as specified, replace the motor.

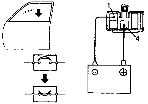
Passenger's Door:







a. Disconnect the connector from the power window switch.
b. Connect the positive (+) lead from the battery to terminal 1 and the negative (-) lead to terminal 4 on the wire harness side connector. and raise the window to full closed position.
c. Connect the positive (+) lead from the battery to terminal 1 on the wire harness side connector.







d. Disconnect the leads from terminals.
e. After approximately 90 seconds, connect the positive (+) lead from the battery to terminal 4 and negative (-) lead to terminal 1. check that the window begins to descend.

If operation is not as specified, replace the motor.