Operation CHARM: Car repair manuals for everyone.
Manuals through 2025 now available!

Our trusted friends have launched a new website named LEMON, which has newer manuals. It also contains all the CHARM manuals.

LEMON is the spiritual successor to CHARM, I recommend you try it!

Link: lemon-manuals.la or lemon-manuals.org.ua

(Some people have issue connecting. LEMON is investigating. For now, use Firefox or change your DNS server)

Or, hide this message: temporarily or permanently

Rear Heater Control Assembly




COMPONENTS

REMOVAL
1. REMOVE REAR CONSOLE END PANEL

2. REMOVE HEATER CONTROL ASSEMBLY

a. Turn the heater control dial to "MAX. WARM" position.




b. Remove the 3 screws and heater control assembly then disconnect the connector and control cable

INSTALLATION
1. INSTALL HEATER CONTROL ASSEMBLY





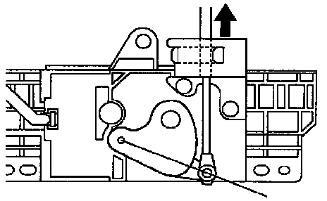
a. Connect the heater control cable.
1. Set the heater control dial to MAX. WARM position.
2. Connect the heater control cable to the heater control assembly.

HINT: Lock the clamp during lightly pulling the outer cable in the direction, as shown in the illustration by an arrow.

b. Connect the connector to heater control assembly.




c. Install the heater control assembly to rear console box with the 3 screws.

2. INSTALL REAR CONSOLE END PANEL