Operation CHARM: Car repair manuals for everyone.
Manuals through 2025 now available!

Our trusted friends have launched a new website named LEMON, which has newer manuals. It also contains all the CHARM manuals.

LEMON is the spiritual successor to CHARM, I recommend you try it!

Link: lemon-manuals.la or lemon-manuals.org.ua

(Some people have issue connecting. LEMON is investigating. For now, use Firefox or change your DNS server)

Or, hide this message: temporarily or permanently

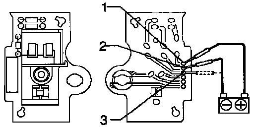
Inspection Procedure

INSPECT HEATER CONTROL ASSEMBLY




a. Connect the positive (+) lead from the battery to terminal 2 and negative (-) lead to terminal 6 then check that the illumination lights up
If operation is not as specified, check the heater control.







b. Connect the positive (+) lead from the battery to terminal 1 and negative (-) lead to each terminal, then check that the "LO and "HI" indicators light up as shown in the chart.
If operation is not as specified, check the heater control.




c. Check the continuity exists between terminals 5 and 6 while switch is pressed.
If operation is not as specified, check the heater control.

INSPECT HEATER CONTROL
a. Disassemble heater control assembly.
1. Release the 2 claws and pull out the temperature control knob.
2. Using a screwdriver, pull out the switch knob.

HINT: Tape the screwdriver tip before use.

3. Remove the 2 screws and heater control upper retainer.
4. Remove the 2 screws and separate the heater control panel and heater control base.
5. Remove the heater control lens.
6. Remove the 2 screws and heater control.

b. Inspect heater control.







1. Connect the positive (+) lead from the battery to terminal 1 and negative (-) lead to each terminal, then check that the "LO" and "HI" indicators light up as shown in the chart.
If operation is not as specified, replace the heater control. If operation is as specified check the wire harness.




2. Check the continuity exists between terminals 4 and 5 while switch is pressed.
If no continuity exists, replace the heater control. If continuity exists check the wire harness.




3. Check the continuity exists between terminals 5 and 6.
If no continuity exists, replace the heater control. If continuity exists check the wire harness.