Operation CHARM: Car repair manuals for everyone.
Manuals through 2025 now available!

Our trusted friends have launched a new website named LEMON, which has newer manuals. It also contains all the CHARM manuals.

LEMON is the spiritual successor to CHARM, I recommend you try it!

Link: lemon-manuals.la or lemon-manuals.org.ua

(Some people have issue connecting. LEMON is investigating. For now, use Firefox or change your DNS server)

Or, hide this message: temporarily or permanently

General Torque Specifications

4.5L Engine Mechanical Data:





4.5L Engine Mechanical Cont.:




4.5L Engine Mechanical Cont.:





4.5L Engine Mechanical Cont.:




4.5L Engine Mechanical Cont.:





4.5L Engine Mechanical Cont.:






TORQUE CHART








TORQUE SEQUENCES

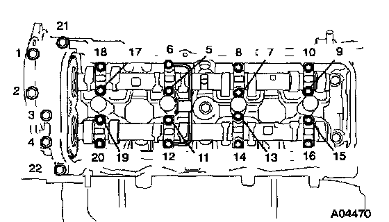
Camshaft Bearing Cap Removal Sequence
RH Cylinder Head




LH Cylinder Head





Camshaft Bearing Cap Tightening Sequence
RH Cylinder Head




LH Cylinder Head





Note: Proper installation procedures are essential to camshaft durability and to avoid damage. Refer to Camshaft, Engine; Service and Repair for detailed camshaft installation procedures.


Cylinder Head Bolt Removal Sequence

Cylinder Head Removal Sequence:






Cylinder Head Bolt Tightening Sequence

Cylinder Head Installation Sequence:






Main Bearing Cap Bolts Removal Sequence





Main Bearing Cap Bolts Tightening Sequence





Drive Plate Bolt Tightening Sequence





See also: Refer to Diagrams/Exploded Views at component level.