Operation CHARM: Car repair manuals for everyone.
Manuals through 2025 now available!

Our trusted friends have launched a new website named LEMON, which has newer manuals. It also contains all the CHARM manuals.

LEMON is the spiritual successor to CHARM, I recommend you try it!

Link: lemon-manuals.la or lemon-manuals.org.ua

(Some people have issue connecting. LEMON is investigating. For now, use Firefox or change your DNS server)

Or, hide this message: temporarily or permanently

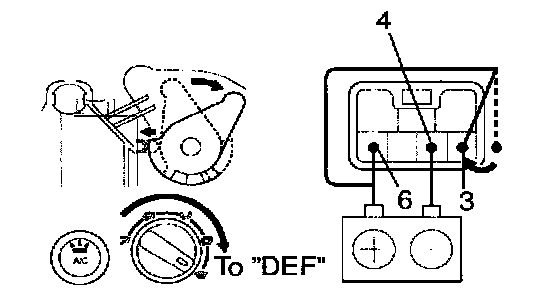
System Inspection Procedures

1. A/C Switch:
INSPECT A/C INDICATOR OPERATION





a. Connect the positive (+) lead from the battery to terminal 6 and negative (-) lead to terminal 4.
b. Push the button in and check that the A/C indicator lights up.
If operation is not as specified, replace the A/C switch.




c. Connect the positive (+) lead from the battery to terminal 3 and check that the indicator dims.
If operation is not as specified, replace the A/C switch.

2. Defroster Mode Switch:
INSPECT A/C INDICATOR OPERATION





a. Connect the positive (+) lead from the battery to terminal 6 and negative (-) lead to terminal 4.
b. Turn the mode dial to the "DEF" position and check that the A/C indicator lights up.
If operation is not as specified, replace the A/C switch.

NOTE: The A/C indicator lights up regardless A/C bottom turn on or not, when the mode dial is DEF.




c. Connect the positive (+) lead from the battery to terminal 3 and check that the indicator dims.
If operation is not as specified, replace the A/C switch.







3. INSPECT A/C SWITCH CONTINUITY
If continuity is not as specified, replace the A/C switch.







4. INSPECT BLOWER SPEED CONTROL SWITCH CONTINUITY
^ Switch continuity:
If continuity is not as specified, replace the blower speed control switch.
^ Illumination circuit:
If continuity is not as specified, replace the bulb.