Operation CHARM: Car repair manuals for everyone.
Manuals through 2025 now available!

Our trusted friends have launched a new website named LEMON, which has newer manuals. It also contains all the CHARM manuals.

LEMON is the spiritual successor to CHARM, I recommend you try it!

Link: lemon-manuals.la or lemon-manuals.org.ua

(Some people have issue connecting. LEMON is investigating. For now, use Firefox or change your DNS server)

Or, hide this message: temporarily or permanently

Power Window Switch / Master Switch

INSPECT POWER WINDOW MASTER SWITCH CONTINUITY
Connect the positive (+) lead from the battery to terminals 3 and 10 and the negative (-) lead to terminal 4.







Front driver's switch (Window lock and unlock)







Front passenger's switch (Window lock and unlock)







Rear left switch (Window unlock)







Rear left switch (Window lock)







Rear right switch (Window unlock)







Rear right switch (Window lock)

If continuity is not specified, replace the master switch.

Using an ammeter:
INSPECT ONE TOUCH POWER WINDOW SYSTEM/CURRENT OF CIRCUIT




a. Disconnect the connector from the master switch.
b. Connect the positive (+) lead from the ammeter to terminal 1 on the wire harness side connector and the negative (-) lead to negative terminal of the battery.
c. Connect the positive (+) lead from the battery to terminal 2 on the wire harness side connector.
d. As the window goes down, check that the current flow is approximately 7 A.




e. Check that the current increases up to approximately 14.5 A or more when the window stops going down.

HINT: The circuit breaker opens for some 4 - 40 seconds after the window stops going down, so that check must be made before the6 circuit breaker operates.

If the operation is as specified, replace the master switch.

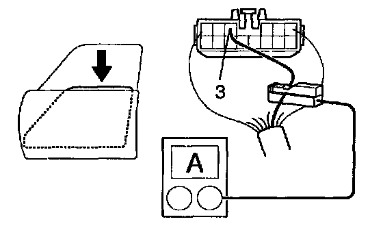
Using an ammeter with a current - measuring probe:
INSPECT ONE TOUCH POWER WINDOW SYSTEM/CURRENT OF CIRCUIT




a. Remove the master switch with connector connected.
b. Attach a current-measuring probe to terminal 8 of the wire harness.
c. Turn the ignition switch ON and set the power window switch in the down position.
d. As the window goes down, check that the current flow is approximately 7 A.




e. Check that the current increases up to approximately 14.5 A or more when the window stops going down.

HINT: The circuit breaker opens some 4 - 40 seconds after the window stops going down, so that check must be made before the circuit breaker operates.

If operation is as specified, replace the master switch.







INSPECT POWER WINDOW MASTER SWITCH CIRCUIT
Disconnect the connector from the master switch and inspect the connector on the wire harness side as shown.
If the circuit is not as specified, inspect the circuits connected to other parts.







INSPECT POWER WINDOW SWITCH CONTINUITY
Connect the positive (+) lead to the battery to terminal 7 and negative (-) lead to terminal 12.







INSPECT POWER WINDOW SWITCH CIRCUIT
Disconnect the connector from the switch and inspect the connector on the wire harness side.
If the circuit is not as specified, inspect the circuits connected to other parts.