Operation CHARM: Car repair manuals for everyone.
Manuals through 2025 now available!

Our trusted friends have launched a new website named LEMON, which has newer manuals. It also contains all the CHARM manuals.

LEMON is the spiritual successor to CHARM, I recommend you try it!

Link: lemon-manuals.la or lemon-manuals.org.ua

(Some people have issue connecting. LEMON is investigating. For now, use Firefox or change your DNS server)

Or, hide this message: temporarily or permanently

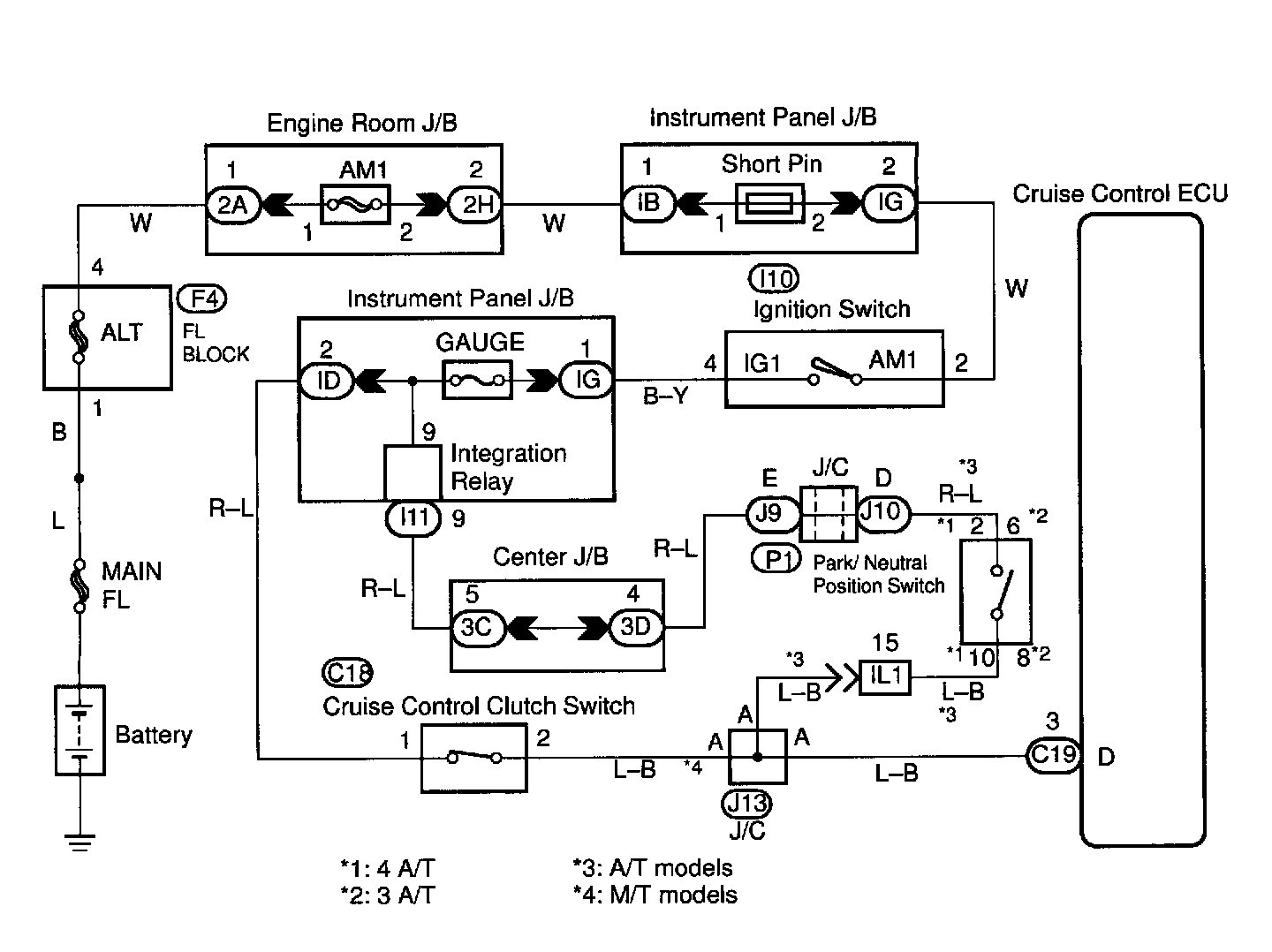
Transmission Position Sensor/Switch: Testing and Inspection

CIRCUIT DESCRIPTION
When the shift position is put in except D position, a signal is sent from the park/neutral position switch to the ECU. When this signal is input during cruise control driving, the ECU cancels the cruise control.




WIRING DIAGRAM

Step 1:




Step 2:




Step 3:




Step 4:




INSPECTION PROCEDURE