Operation CHARM: Car repair manuals for everyone.
Manuals through 2025 now available!

Our trusted friends have launched a new website named LEMON, which has newer manuals. It also contains all the CHARM manuals.

LEMON is the spiritual successor to CHARM, I recommend you try it!

Link: lemon-manuals.la or lemon-manuals.org.ua

(Some people have issue connecting. LEMON is investigating. For now, use Firefox or change your DNS server)

Or, hide this message: temporarily or permanently

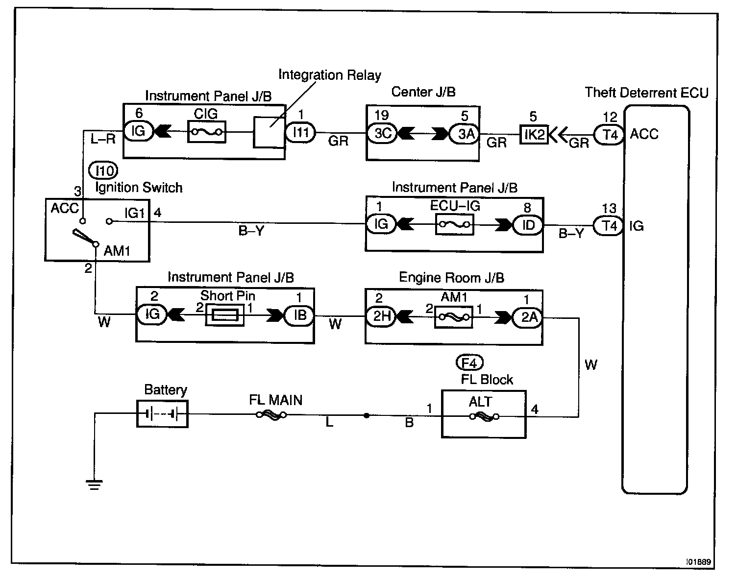
Ignition Switch Circuit

Ignition Switch Circuit

CIRCUIT DESCRIPTION
When the ignition switch is turned to the ON position, battery positive voltage is applied to the terminals IG of the ECU. When the battery positive voltage is applied to the terminal IG of the ECU while the theft deterrent system is activated, the warning stops. Furthermore, power supplied from the terminals IG of the ECU is used as power for the door courtesy switch, and position switch, etc.

Wiring Diagram:






Steps 1 - 2:




INSPECTION PROCEDURE