Operation CHARM: Car repair manuals for everyone.
Manuals through 2025 now available!

Our trusted friends have launched a new website named LEMON, which has newer manuals. It also contains all the CHARM manuals.

LEMON is the spiritual successor to CHARM, I recommend you try it!

Link: lemon-manuals.la or lemon-manuals.org.ua

(Some people have issue connecting. LEMON is investigating. For now, use Firefox or change your DNS server)

Or, hide this message: temporarily or permanently

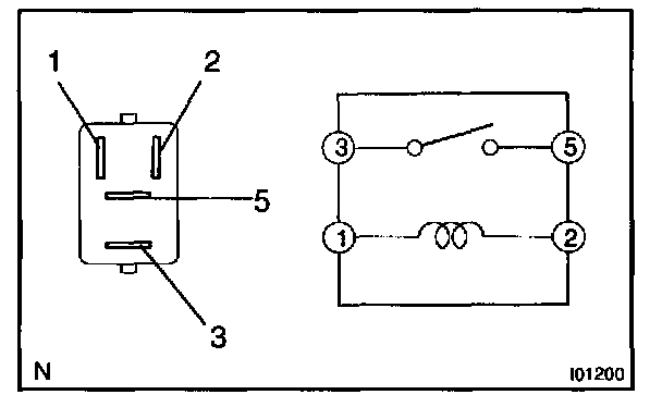
Power Window Relay: Testing and Inspection







INSPECT POWER MAIN RELAY CONTINUITY
If continuity is not as specified, replace the relay.

Key-Off power window signal:
INSPECT INTEGRATION RELAY OPERATION
When the relay circuit is as specified, inspect the key-Off power window signal.




a. Connect the positive (+) lead from the voltmeter to terminal 14 and the negative (-) lead to body ground.
b. Close the door with ignition switch turned to LOCK or ACC, and check that the meter needle indicates battery positive voltage.
c. Open the door and check that the meter needle indicates 0 V.




d. Turn the ignition switch ON and check that the meter needle indicates battery positive voltage again.
If operation is not as specified, replace the relay.

INSPECT INTEGRATION RELAY CIRCUIT