Operation CHARM: Car repair manuals for everyone.
Manuals through 2025 now available!

Our trusted friends have launched a new website named LEMON, which has newer manuals. It also contains all the CHARM manuals.

LEMON is the spiritual successor to CHARM, I recommend you try it!

Link: lemon-manuals.la or lemon-manuals.org.ua

(Some people have issue connecting. LEMON is investigating. For now, use Firefox or change your DNS server)

Or, hide this message: temporarily or permanently

Windshield: Service and Repair

REMOVAL

1. REMOVE INNER REAR VIEW MIRROR
2. REMOVE SUN VISORS AND HOLDERS
3. w/ Sliding roof:
REMOVE MAP LIGHT

4. REMOVE FRONT PILLAR GARNISH




a. Pry out clips by your hand.
b. Pull the garnish upward to remove it.
c. Employ the same manner described above to the other side.

5. REMOVE WIPER ARMS
6. REMOVE HOOD TO COWL TOP SEAL
7. REMOVE COWL LOUVER
8. REMOVE ASSIST GRIP
9. w/ Sliding roof:
REMOVE SLIDING ROOF OPENING TRIM

10. REMOVE ROOF HEADLINING FRONT SIDE
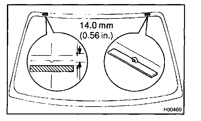
11. REMOVE WINDSHIELD MOULDING




Using a knife, cut off the moulding as shown.

NOTE: Do not damage the body with the knife.

12. REMOVE WINDSHIELD GLASS




a. Push piano wire through between the body and glass from the interior.
b. Tie both wire ends to a wooden block or a similar object.

HINT: Apply adhesive tape to the outer surface to keep the surface from being scratched.

NOTE: When separating the glass, be careful not to damage the paint and interior and exterior ornaments. To prevent scratching the safety pad when removing the windshield, place a plastic sheet between the piano wire and safety pad.




c. Cut the adhesive by pulling the piano wire around it.
d. Remove the glass.

NOTE: Leave as much of the adhesive on the body as possible when removing the glass.

INSTALLATION

1. CLEAN AND SHAPE CONTACT SURFACE OF BODY




a. Using a knife, cut away any rough areas on the body.

HINT: Leave as much of the adhesive on the body as possible.

b. Clean the cutting surface of the adhesive with a shop rag saturated in cleaner.

HINT: Even if all the adhesive has been removed, clean the body.

2. REPLACE STOPPER




a. Remove the damaged stopper.
b. Cut off the old adhesive around the stopper installation area.

NOTE: Be careful not to damage the body.

c. Clean the installation area.
d. Install a new stopper onto the glass.

3. CLEAN REMOVED GLASS




a. Using a scraper, remove the adhesive sticking to the glass.
b. Clean the glass with cleaner.

NOTE: Do not touch the glass after cleaning it.

4. REPLACE DAM




a. Remove the damaged dam.
b. Clean the installation area.
c. Install a new dam with double-stick tape as shown in the illustration.

NOTE: Do not touch the glass face after cleaning it.

A: 7.0 mm (0.276 in.)
B: 16.3 mm (0.642 in.)

5. POSITION GLASS




a. Place glass in the correct position.
b. Check that all contacting parts of the glass rim are perfectly even.
c. Place reference marks between the glass and body.
d. Remove the glass.

6. CLEAN CONTACT SURFACE OF GLASS




Using a cleaner, clean the contact surface which black-colored area around the entire glass rim.

NOTE: Do not touch the glass face after cleaning it.

7. COAT CONTACT SURFACE OF BODY WITH PRIMER "M"




Using a brush, coat the contact surface on the body with Primer M.

NOTE:
- Let the primer coating dry for 3 minutes or more.
- Do not coat Primer M to the adhesive.
- Do not keep any of the opened Primer M for later use.

8. COAT CONTACT SURFACE OF GLASS WITH PRIMER "G"




a. Using a brush or a sponge, coat the edge of the glass and the contact surface with Primer G.
b. Before the primer dries, wipe it off with a clean shop rag.

NOTE:
- Let the primer coating dry for 3 minutes or more.
- Do not keep any of the opened Primer G for later use.

9. APPLY ADHESIVE
a. Cut off the tip of the cartridge nozzle.

Part No. 08850-00801 or equivalent






HINT: After cutting off the tip, use all adhesive within the time described in the table.

b. Load the cartridge into the sealer gun.




c. Coat the glass with adhesive as shown.

A: 12.5 mm (0.492 in.)
B: 8.0 mm (0.315 in.)

10. INSTALL GLASS






HINT: Confirm that the dam is attached to the body panel as shown in the illustration.




a. Position the glass so that the reference marks are lined up, and press in gently along the rim.
b. Using a spatula, apply adhesive on the glass rim.




c. Use a scraper to remove any excessive or protruding adhesive.
d. Hold the glass in place securely with a protective tape or equivalent until the adhesive hardens.






NOTE: Take care not to drive the vehicle during the time described in the table.

11. INSPECT FOR LEAK AND REPAIR
a. Do a leak test after the hardening time has elapsed.
b. Seal any leak with sealant.

Part No. 08833-00030 or equivalent

12. APPLY ADHESIVE AT MOULDING INSTALLATION AREA




Coat the glass with adhesive at the moulding installation area.

Part No. 08833-00030 or equivalent

13. INSTALL WINDSHIELD MOULDING




Place a new moulding onto the body and tap it by hand.

14. INSTALL ROOF HEADLINING FRONT SIDE
15. w/ Sliding roof:
INSTALL SLIDING ROOF OPENING TRIM

16. INSTALL ASSIST GRIP
17. INSTALL COWL LOUVER
18. INSTALL HOOD TO COWL TOP SEAL
19. INSTALL WIPER ARMS
a. Install the wiper arms and tighten nuts by hand. Operate the wipers once and turn the wiper switch OFF.




b. Adjust the installation positions of the wiper arms to the positions as shown in the illustration.

"A": 25.0 + 15.0 mm (0.984 + 0.591 in.)

c. Torque the nuts.

Torque: 20 N.m (205 kgf.cm, 15 ft.lbf)

20. INSTALL FRONT PILLAR GARNISHES
21. w/ Sliding roof:
INSTALL MAP LIGHT

22. INSTALL SUN VISORS AND HOLDERS
23. INSTALL INNER REAR VIEW MIRROR