Operation CHARM: Car repair manuals for everyone.
Manuals through 2025 now available!

Our trusted friends have launched a new website named LEMON, which has newer manuals. It also contains all the CHARM manuals.

LEMON is the spiritual successor to CHARM, I recommend you try it!

Link: lemon-manuals.la or lemon-manuals.org.ua

(Some people have issue connecting. LEMON is investigating. For now, use Firefox or change your DNS server)

Or, hide this message: temporarily or permanently

Part 1















REASSEMBLY

NOTICE:
- The automatic transaxle is composed of highly precision-finished parts, necessitating careful inspection before reassembly because even a small nick could cause fluid leakage or affect the performance. The instructions here are organized so that you work on only one component group at a time. This will help avoid confusion from similar-looking parts of different sub-assemblies being on your workbench at the same time. The component groups are inspected and repaired from the converter housing side. As much as possible, complete the inspection, repair and reassembly before proceeding to the next component group. If a defect is found in a certain component group during reassembly, inspect and repair this group immediately. If a component group cannot be assembled because parts are being ordered, be sure to keep all parts of the group in a separate container while proceeding with disassembly, inspection, repair and reassembly of other component groups.
- Recommended ATF: TYPE T-IV or equivalent
- All disassembled parts should be washed clean and any fluid passages and holes should be blown through with compressed air.
- Dry all parts with compressed air-never use shop rags.
- When using compressed air, always aim away from yourself to prevent accidentally spraying ATF or kerosene on your face.
- The recommended automatic transaxle fluid or kerosene should be used for cleaning.
- After cleaning, the parts should be arranged in the correct order for efficient inspection, repairs, and reassembly.
- When disassembling a valve body, be sure to match each valve together with the corresponding spring.
- New discs for the brakes and clutches that are to be used for replacement must be soaked in ATF for at least 15 minutes before reassembly.
- All oil seal rings, clutch discs, clutch plates, rotating parts, and sliding surfaces should be coated with ATF prior to reassembly.
- All gaskets and rubber O-rings should be replaced.
- Do not apply adhesive cements to gaskets and similar parts.
- Make sure that the ends of a snap ring are not aligned with one of the cutouts and are installed in the groove correctly.
- If a worn bushing is to be replaced, the sub-assembly containing the bushing must also be replaced.
- Check thrust bearings and races for wear or damage. Replace if necessary. Use petroleum jelly to keep parts in place.
- When working with FIPG material, you must observe the following.
Using a razor blade and a gasket scraper, remove all the old packing Formed In Place Gasket (FIPG) material from the gasket surface.
Thoroughly clean all components to remove all the loose material. Clean both sealing surfaces with a non-residue solvent.
Parts must be reassembled within 10 minutes of application. Otherwise, the packing Formed In Place Gasket (FIPG) material must be removed and reapplied.








BEARING AND RACES INSTALLATION POSITION AND DIRECTION

1. ASSEMBLE TRANSAXLE REAR COVER





a. Install 4 new O-rings and the 4 screw plugs to the trans axle rear cover.
Torque: 7.4 Nm (75 kgf-cm, 65 inch lbs.)





b. Install the 3 seal ring to the transaxle rear cover.





2. CHECK O/D BRAKE PISTON RETURN SPRING
Using vernier calipers, measure the free length of the spring together with the spring seat.
Standard free length: 17.88 mm (0.7039 inch)
3. INSTALL O/D BRAKE PISTON





a. Coat 2 new O-rings with ATF, install them to the O/D brake piston.
b. Coat the O/D brake piston with ATF, install it to the trans axle rear cover.

NOTICE: Be careful not to damage the O-rings of the O/D brake piston.





c. Using SST and a press, install the O/D brake return spring and snap ring to the transaxle rear cover.
SST 09387-00070

NOTICE: Stop the press when the O/D brake piston is lowered 1 - 2 mm (0.039 - 0.078 inch) from the snap ring groove, preventing the O/D brake piston from being deformed.

4. ASSEMBLE TRANSAXLE CASE





a. Using SST and a hammer, install the roller bearing into the transaxle case.
SST 09214-41010





b. Using SST and a hammer, install the shim and bearing outer race.
SST 09608-32010, 09950-70010 (09951-07200)

HINT Select a shim.





c. Using SST and a hammer, drive in a new oil seal.
SST 09350-32014 (09351-32150), 09950-70010 (09951-07150)
Oil seal in depth:
U340E: 5.9 ± 0.5 mm (0.232 ± 0.020 inch)
U341E: 2.7 ± 0.5 mm (0.106 ± 0.020 inch)
5. ASSEMBLE TRANSAXLE HOUSING





a. Using SST and a hammer, install the thrust needle roller bearing and a new cylindrical roller bearing.
SST 09223-00010





b. Using SST and a hammer, install a new bearing outer race.
SST 09515-35010





c. Using SST and a hammer, drive in a new oil seal.
SST 09710-30050, 09950-70010 (09951-7200)
Oil seal in depth:
U340E: 2 ± 0.5 mm (0.079 ± 0.020 inch)
U341E: 0 ± 0.5 mm (0 ± 0.020 inch)





6. INSTALL DIFFERENTIAL GEAR APPLY TUBE
Install the differential gear apply tube, bearing lock plate and bolt to the transaxle housing.
Torque: 11 Nm (110 kgf-cm, 8 ft. lbs.)





7. INSTALL TRANSAXLE HOUSING OIL SEPARATOR
Install the transaxle housing oil separator and 2 bolts to the transaxle housing.
Torque: 9.8 Nm (100 kgf-cm, 87 inch lbs.)





8. INSTALL 1ST & REVERSE BRAKE PISTON
a. Coat 2 new O-rings with ATF, install them to the 1st & reverse brake piston.
b. Install the 1st & reverse brake piston to the transaxle case.





9. CHECK 1ST & REVERSE BRAKE PISTON RETURN SPRING
Using vernier calipers, measure the free length of the spring together with the spring seat.
Standard free length: 13.96 mm(0.5496 inch)





10. INSTALL 1ST & REVERSE BRAKE PISTON SPRING
Using SST, a press and a screwdriver, install the piston spring and snap ring.





11. INSTALL 1ST& REVERSE BRAKE
a. Install the 4 plates, 4 discs and flange to the transaxle case.
b. Using a screwdriver, install the snap ring.





12. CHECK PISTON STROKE OF 1ST & REVERSE BRAKE
Using a dial indicator and measuring terminal Special Service Tool (SST), measure the 1st & reverse brake piston stroke while applying and releasing compressed air (392 - 785 kPa, 4 - 8 kgf/cm2, 57 - 114 psi).
SST 09350-36010 (09350-06110)
Piston stroke: 0.8 - 1.2 mm (0.031 - 0.047 inch)

HINT: Select an appropriate flange from the table below so that it will meet the specified value.





Flange thickness: mm (inch)

13. U341E:
INSTALL COUNTER DRIVE GEAR AND FRONT PLANETARY GEAR





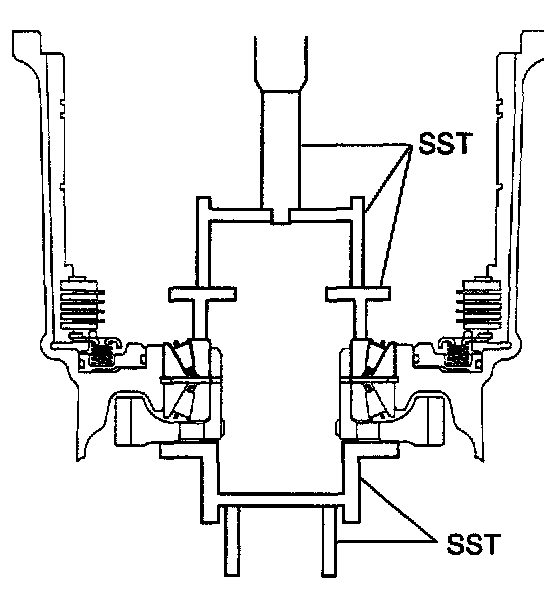
a. Using SST and a press, press in the front tappered roller bearing to the counter drive gear.
SST 09223-15020, 09316-20011, 09649-17010, 09950-70010 (09951-07150)





b. Using SST and a press, install the rear tappered roller bearing to the counter drive gear and transaxle case.
SST 09223-15020, 09316-20011, 09649-17010, 09950-70010 (09951-07150)





c. Using SST and a press, install the front planetary gear to the counter drive gear.
SST 09223-15020, 09229-55010, 09649-17010





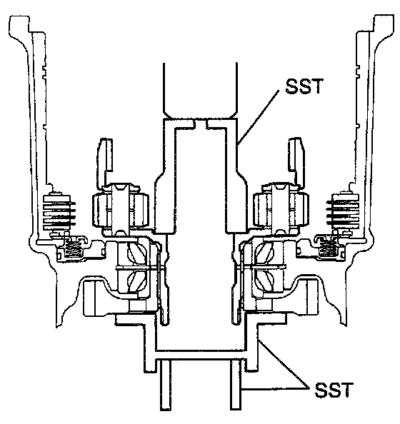
14. U340E:
INSTALL COUNTER DRIVE GEAR AND FRONT PLANETARY GEAR
Using SST and a press, install the counter drive gear and front planetary gear.
SST 09223-15020, 09229-55010, 09649-17010
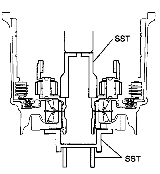
15. INSTALL NUT





a. Using SST, install a new lock washer and nut.
Torque: 280 Nm (2,855 kgf-cm, 207 ft. lbs.)





b. Using SST and a small torque wrench, while turning to counter drive gear 60 turn par minute and measure the rotating torque.
Rotating torque: 0.20 - 0.49 Nm (2 - 5 kgf-cm, 2 - 4 inch lbs.)

HINT: When the rotating torque is smaller than the specification, tighten the nut more and adjust the rotating torque.

c. Stake the lock washer.





16. INSTALL FRONT PLANETARY SUN GEAR
Install the thrust needle roller bearing and front planetary sun gear.





Bearing diameter: mm (inch)

17. INSTALL 2ND BRAKE CYLINDER, ONE-WAY CLUTCH NO. 2 AND REAR PLANETARY GEAR ASSEMBLY





a. Install the retainer to the one-way clutch No. 2.





b. Assemble the 2nd brake cylinder, one-way clutch No. 2 and rear planetary gear.





c. Install the thrust needle roller bearing and 2 bearing races to the transaxle case.





Bearing and race diameter: mm (inch)

d. Install the 2nd brake cylinder, one-way clutch No. 2 and rear planetary gear.





e. Using a screwdriver, install the snap ring.