Operation CHARM: Car repair manuals for everyone.
Manuals through 2025 now available!

Our trusted friends have launched a new website named LEMON, which has newer manuals. It also contains all the CHARM manuals.

LEMON is the spiritual successor to CHARM, I recommend you try it!

Link: lemon-manuals.la or lemon-manuals.org.ua

(Some people have issue connecting. LEMON is investigating. For now, use Firefox or change your DNS server)

Or, hide this message: temporarily or permanently

Timing Chain: Service and Repair









REMOVAL
1. DRAIN ENGINE COOLANT
2. REMOVE REAR SUSPENSION UPPER BRACE
3. REMOVE ENGINE UNDER COVERS
4. REMOVE DRIVE BELT AND GENERATOR





5. REMOVE DRIVE BELT IDLER
Remove the 2 bolts, 2 nuts and drive belt idler.
6. REMOVE RH ENGINE MOUNTING INSULATOR





a) Set a jack to the oil pan.

NOTICE: Place a wooden block or rubber block between a jack and the oil pan.





b) Remove the 3 bolts, 3 nuts and engine mounting insulator.
7. REMOVE IGNITION COILS





8. REMOVE CYLINDER HEAD COVER
a) Disconnect the 2 PCV hoses from the cylinder head cover.
b) Disconnect the noise filter.
c) Disconnect the heated oxygen sensor (bank 1 sensor 1) connector.
d) Remove the 9 bolts, 2 nuts and 2 seal washers.
e) Disconnect the engine wire together with the 3 engine wire brackets, and remove the cylinder head cover and gasket.





9. REMOVE OIL DIPSTICK AND GUIDE
a) Remove the bolt, and disconnect the oil dipstick and guide.
b) Disconnect the 2 connectors and wire bracket from the oil dipstick guide, and remove the oil dipstick and O-ring.
10. SET NO. 1 CYLINDER TO TDC/COMPRESSION





a) Turn the crankshaft pulley, and align its groove with the timing mark 0 of the timing chain cover.





b) Check that the point marks of the camshaft timing sprocket and VVT timing sprocket are in straight line on the timing chain cover surface as shown in the illustration.
If not, turn the crankshaft 1 revolution (360°) and align the marks as above.
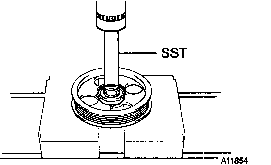
11. REMOVE CRANKSHAFT PULLEY





a) Using SST, remove the pulley bolt.
SST 09213-70011,09330-00021





b) Remove the crankshaft pulley.

HINT: If necessary, remove the pulley with SST.
SST 09950-50012 (09951-05010, 09952-05010, 09953-05020, 09954-05020)





12. REMOVE DRIVE BELT TENSIONER
Remove the bolt, nut and drive belt tensioner.





13. REMOVE RH ENGINE MOUNTING BRACKET
Remove the 3 bolts and engine mounting bracket.





14. REMOVE CHAIN TENSIONER
Remove the 2 nuts and chain tensioner.
15. REMOVE WATER PUMP
16. REMOVE CRANKSHAFT POSITION SENSOR





17. REMOVE TIMING CHAIN COVER
a) Remove the 11 bolts and nut.
b) Using a screwdriver, pry between the timing chain cover and cylinder head or cylinder block.
c) Remove the timing chain cover.

NOTICE: Be careful not to damage the contact surfaces of the timing chain cover, cylinder head and cylinder block.

18. REMOVE CRANK ANGLE SENSOR PLATE
19. REMOVE CHAIN TENSIONER SLIPPER
Remove the bolt and slipper.





20. REMOVE TIMING CHAIN AND CRANKSHAFT TIMING SPROCKET
If necessary, pry between the timing chain and oil pump by 2 screwdrivers.

NOTICE: Position shop rags as shown to prevent damage.

21. REMOVE CHAIN VIBRATION DAMPER
Remove the 2 bolts and damper.





22. REMOVE CAMSHAFT TIMING SPROCKET AND VVT TIMING SPROCKET
a) Hold the hexagonal head wrench portion of the camshaft with a wrench, and loosen the sprocket.

NOTICE: Be careful not to damage the cylinder head and valve lifter by a wrench.

b) Remove the bolt and camshaft timing sprocket.
c) Remove the bolt and VVT timing Sprocket.

INSPECTION
1. INSPECT TIMING CHAIN AND TIMING SPROCKETS





a) Using vernier calipers, measure the length of the 16 links with the chain fully stretched.
Maximum chain elongation: 122.6 mm (4.827 inch)
If the elongation is greater than maximum, replace the chain.

HINT: Make the same pulling measurements at 3 or more places selected at random.





b) Wrap the chain around the timing sprocket.
c) Using vernier calipers, measure the timing sprocket diameter with the chain.

NOTICE:
Vernier calipers contact the chain rollers for measuring.





Minimum sprocket diameter (w/ Chain):

If the diameter is less than minimum, replace the chain and sprockets.

2. INSPECT DRIVE BELT IDLER
Check that the pulley rotates smoothly.
If necessary, replace the bearing.





3. INSPECT CHAIN TENSIONER SLIPPER AND VIBRATION DAMPER
Measure the chain tensioner slipper and vibration damper wears.
Maximum wear: 1.0 mm (0.039 inch)
If the wear is greater than maximum, replace the slipper and/or damper.





4. INSPECT CHAIN TENSIONER
a) Check that the plunger moves smoothly when the ratchet pawl is raised with your finger.
b) Release the ratchet pawl and check that the plunger is locked in place by the ratchet pawl and does not move when pushed with your finger.
5. INSPECT OIL JET
6. INSPECT DRIVE BELT TENSIONER
Check the oil leakage and crack.
If necessary, replace the drive belt tensioner.

REPLACEMENT
1. REPLACE CRANKSHAFT FRONT OIL SEAL

HINT: There are 2 methods (a)and b)) to replace the oil seal.

a) If the timing chain cover is removed from the cylinder block.





(1) Using a screwdriver and a hammer, tap out the oil seal.





(2) Using SST and a hammer, tap in a new oil seal until its surface is flush with the timing chain cover edge.
SST 09309-37010
(3) Apply MP grease to the oil seal lip.
b) If the timing chain cover is installed to the cylinder block.





(1) Using SST, remove the oil seal.
SST 09308-10010





(2) Using SST and a hammer, tap in a new oil seal until its surface is flush with the timing chain cover edge.
SST 09309-37010
2. REPLACE DRIVE BELT IDLER BEARING





a) Mount the drive belt idler in a vice, and remove the bolt, washer and pulley.





b) Using SST and a press, press out the bearing.
SST 09950-60010 (09951-00240), 09950-70010 (09951-07100)





c) Using SST and a press, press in a new bearing.
SST 09950-60010 (09951-00390), 09950-70010 (09951-07100)





d) Mount the drive belt idler in a vice, and reinstall the pulley with the washer and bolt.
Torque: 43 Nm (440 kgf-cm, 32 ft. lbs.)

NOTICE: Be careful of the installation direction of pulley and washer.

INSTALLATION
1. INSTALL CAMSHAFT TIMING SPROCKET AND VVT TIMING SPROCKET





a) Align the camshaft knock pin with the knock pin groove on the sprocket side with the timing mark, and slide on the camshaft timing sprocket and VVT timing sprocket.





b) Temporary install the 2 timing sprocket bolts.
c) Hold the hexagon wrench head portion of the camshaft with a wrench, and tighten the timing sprocket bolt.
Torque: 54 Nm (551 kgf-cm, 40 ft. lbs.)
2. SET NO. 1 CYLINDER TO TDC/COMPRESSION





a) Turn the hexagonal wrench head portion of the camshafts, and align the point marks of the camshaft timing sprockets.





b) Using the crankshaft pulley bolt, turn the crankshaft and set the set key on the crankshaft upward.





3. INSTALL CHAIN VIBRATION DAMPER
Install the damper with the 2 bolts.
Torque: 9 Nm (92 kgf-cm, 80 inch lbs.)
4. INSTALL TIMING CHAIN AND CRANKSHAFT TIMING SPROCKET





a) Install the timing chain on the crankshaft timing sprocket with the #1 mark link aligned with the timing mark on the crankshaft timing sprocket.





HINT: If necessary, tap in the sprocket with SST and a hammer.
SST 09223-22010





b) Install the timing chain on the camshaft timing sprocket and VVT timing sprocket with the #53 and #67 mark links aligned with the timing marks on the camshaft timing sprocket and VVT timing sprocket.





c) Check that the tension between the VVT timing sprocket and crankshaft timing sprocket.
5. INSTALL CHAIN TENSIONER SLIPPER
a) Install the slipper with the bolt.
Torque: 18.5 Nm (189 kgf-cm, 14 ft. lbs.)
b) Check that the slipper is held on the cylinder head stopper.

NOTICE: Do not turn the crankshaft.





6. INSTALL CRANK ANGLE SENSOR PLATE
Install the plate with the F mark facing forward.
7. INSTALL TIMING CHAIN COVER AND WATER PUMP
a) Remove any old packing (FIPG) material and be careful not to drop any oil on the contact surfaces of the timing chain cover, cylinder head and cylinder block.
- Using a razor blade and a gasket scraper, remove all the old packing (FIPG) material from the gasket surfaces and sealing grooves.
- Thoroughly clean all components to remove all the loose material.
- Using a non-residue solvent, clean both sealing surfaces.








b) Apply seal packing to the timing chain cover as shown in the illustration.
Seal packing position:
Seal packing: Part No. 08826-00100 or equivalent
- Install a nozzle that has been cut to a 4 - 5 mm (0.16 - 0.20 inch) opening.

HINT: Avoid applying an excessive amount to the surface.

- Parts must be assembled within 3 minutes of application. Otherwise the material must be removed and reapplied.
- Immediately remove nozzle from the tube and rein stall cap.





c) Apply seal packing to 2 locations as shown in the illustration.
Seal packing: Part No. 08826-00080 or equivalent
- Install a nozzle that has been cut to a 4 - 5 mm (0.16 - 0.20 inch) opening.

HINT: Avoid applying an excessive amount to the surface.

- Parts must be assembled within 3 minutes of application. Otherwise the material must be removed and reapplied.
- Immediately remove nozzle from the tube and rein stall cap.





d) Install the timing chain cover, a new O-ring and the water pump with the 17 bolts and nut. Uniformly tighten the bolts and nut in several passes.
Torque:
18.5 Nm (189 kgf-cm, 14 ft. lbs.) for A
13 Nm (133 kgf-cm, 10 ft. lbs.) for B
9 Nm (92 kgf-cm, 80 inch lbs.) for C
11 Nm (113 kgf-cm, 8 ft. lbs.) for others

NOTICE:
- Pay attention not to wrap the chain and slipper over the chain cover seal line.
- After installing the chain cover, install the mounting bracket and water pump within 15 minutes.





HINT: Each bolt length in indicated in the illustration.





8. INSTALL RH ENGINE MOUNTING BRACKET
a) Apply seal packing to threads of the mounting bolt.
Seal packing: Part No. 08826-00080 or equivalent

NOTICE: Do not apply seal packing to 2 or 3 threads of the bolt end.

b) Install the engine mounting bracket with the 3 bolts.
Torque: 47 Nm (479 kgf-cm, 35 ft. lbs.)





9. INSTALL DRIVE BELT TENSIONER
a) Install the drive belt tensioner with the bolt and nut.
Torque:
69 Nm (704 kgf-cm, 51 ft. lbs.) for bolt
29 Nm (296 kgf-cm, 21 ft. lbs.) for nut
b) Hook the tool on the hexagonal portion of the drive belt tensioner bracket and operate drive belt tensioner 3 times with full stroke.

HINT: Take 3 seconds or more for 1 full stroke.

10. INSTALL CRANKSHAFT POSITION SENSOR
Torque: 9 Nm (92 kgf-cm, 80 inch lbs.)





11. INSTALL CRANKSHAFT PULLEY
a) Clean the crankshaft pulley inside.
b) Align the pulley set key with the key groove of the pulley, and slide on the pulley.
c) Using SST, install the pulley bolt.
SST 09213-70011, 09330-00021
Torque: 138 Nm (1,409 kgf-cm, 102 ft. lbs.)
12. INSTALL CHAIN TENSIONER





a) Release the ratchet pawl, fully push in the plunger and apply the hook to the pin so that the plunger cannot spring out.
b) Install the O-ring to the chain tensioner.





c) Push the chain tensioner into the timing chain cover, and install the 2 nuts.
Torque: 9 Nm (92 kgf-cm, 80 inch lbs.)

HINT:
- In case that the hook is released while pushing in, apply the hook again and push the tensioner in.
- Pay attention not to catch the O-ring as it is built in the chain tensioner previously.

13. SET CHAIN TENSION





a) Turn the crankshaft counterclockwise, and disconnect the plunger knock pin from the hook.





b) Turn the crankshaft clockwise, and check that the slipper is pushed by the plunger.

HINT: If the plunger does not spring out, press the slipper into the chain tensioner with a screwdriver or your finger so that the hook is released from the knock pin and the plunger springs out.

14. CHECK VALVE TIMING





a) Turn the crankshaft pulley, and align its groove with timing mark 0 of the timing chain cover.

NOTICE: Always turn the crankshaft clockwise.





b) Check that the point marks of the camshaft timing sprocket and VVT timing sprocket are in straight line on the timing chain cover surface as shown in the illustration.
If not, turn the crankshaft 1 revolution (360°) and align the marks as above.





15. INSTALL OIL DIPSTICK AND GUIDE
a) Connect the knock sensor connector, crankshaft position sensor connector and oil pressure sensor wire bracket to the oil dipstick guide.
b) Install a new O-ring to the oil dipstick.
c) Install the oil dipstick and guide with the nut.
Torque: 13 Nm (133 kgf-cm, 10 ft. lbs.)
16. INSTALL CYLINDER HEAD COVER
a) Remove any old packing (FIPG) material.





b) Apply seal packing to 2 locations as shown in the illustration.
Seal packing: Part No. 08826-00080 or equivalent
c) Install the gasket to the cylinder head cover.
If the gasket has damage, replace a new one.

HINT: Part must be assembled within 3 minutes of application. Otherwise the material must be removed and reapplied.





d) Install the cylinder head cover and engine wire bracket with the 9 bolts, 2 seal washers and 2 nuts. Uniformly tighten the bolts and nuts in the several passes, in the sequence shown.
Torque:
11 Nm (113 kgf-cm, 8 ft. lbs.) for w/o washer
9 Nm (92 kgf-cm, 80 inch lbs.) for w/ washer
e) Connect the noise filter.
f) Disconnect the heated oxygen sensor (bank 1 sensor 1) connector.
g) Connect the 2 PCV hoses to the cylinder head cover.





17. INSTALL RH ENGINE MOUNTING INSULATOR
a) Install the engine mounting insulator with the 3 bolts and 3 nuts.
Torque: 52 Nm (530 kgf-cm, 38 ft. lbs.)
b) Remove the jack.
18. INSTALL IGNITION COILS
19. INSTALL NO. 2 CYLINDER HEAD COVER
Install the No. 2 cylinder head cover with the 2 nuts and 2 clips.





20. INSTALL DRIVE BELT IDLER
Torque: 36 Nm (370 kgf-cm, 27 ft. lbs.)
21. INSTALL GENERATOR AND DRIVE BELT
22. INSTALL ENGINE UNDER COVERS
23. INSTALL SUSPENSION UPPER BRACE
24. FILL WITH ENGINE COOLANT
25. START ENGINE AND CHECK FOR COOLANT LEAKS