Manuals through 2025 now available!
Our trusted friends have launched a new website named LEMON, which has newer manuals. It also contains all the CHARM manuals.
LEMON is the spiritual successor to CHARM, I recommend you try it!
Link:
lemon-manuals.la or
lemon-manuals.org.ua
(Some people have issue connecting. LEMON is investigating. For now, use Firefox or change your DNS server)
Or, hide this message:
temporarily or
permanently
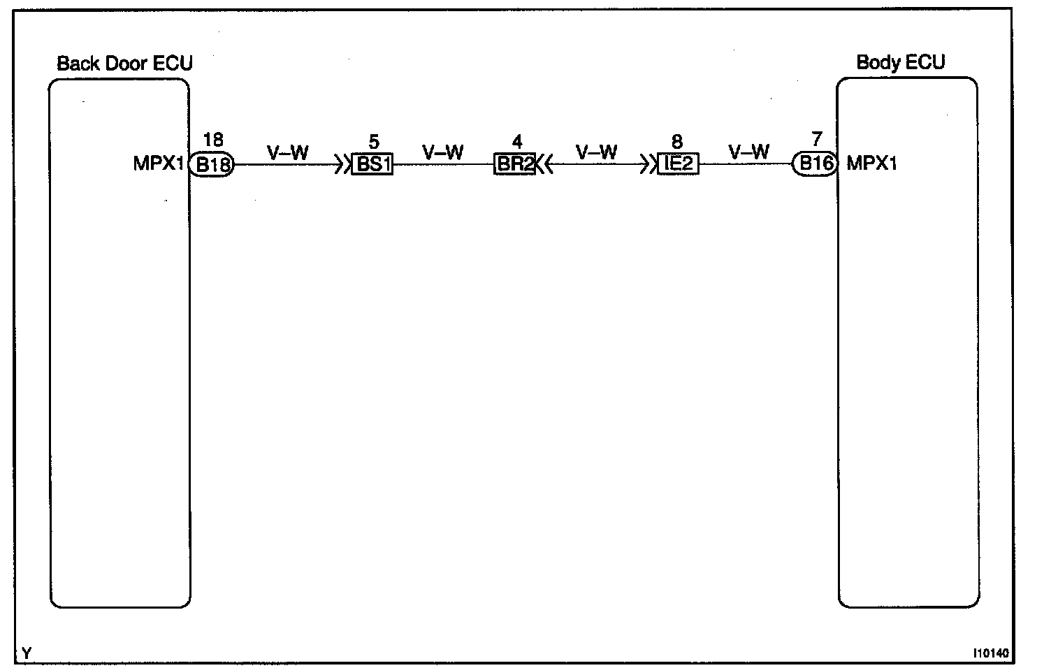
MPX Circuit
CIRCUIT DESCRIPTIONThis circuit communicates information of the wireless door lock control system, rear defogger system, open door warning, laggenge light, theft deterrent system, rear wiper washer system and back door power window system between the body ECU and back door ECU.
Wiring Diagram:
Step 1:
INSPECTION PROCEDURE