Component Tests and General Diagnostics
INSPECTION1. INSPECT LIGHT CONTROL SWITCH CONTINUITY
If continuity is not as specified, replace the switch.
2. INSPECT HEADLIGHT DIMMER SWITCH CONTINUITY
If continuity is not as specified, replace the switch.
3. Puerto Rico models:
W/ Wireless door lock control system:
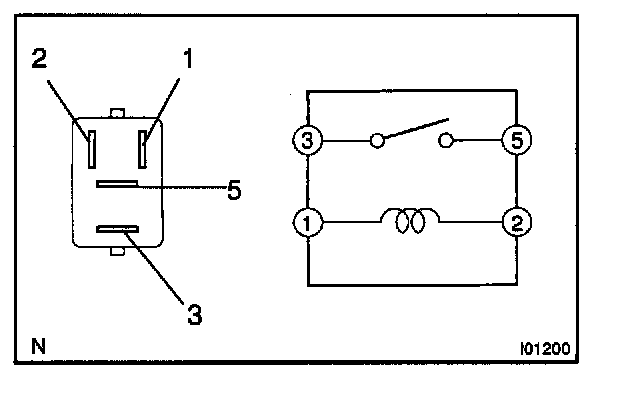
INSPECT HEADLIGHT CONTROL RELAY CONTINUITY
If continuity is not as specified, replace the relay.
4. Puerto Rico models:
W/ Wireless door lock control system:
INSPECT TAILLIGHT CONTROL RELAY CONTINUITY
If continuity is not as specified, replace the relay.
5. W/ Daytime running light system:
INSPECT DAYTIME RUNNING LIGHT MAIN RELAY CIRCUIT
Disconnect the connector from the relay and inspect the connector on the wire harness side.
6. W/ Daytime running light system:
INSPECT DAYTIME RUNNING LIGHT NO.5 RELAY CONTINUITY
If continuity is not as specified, replace the relay.
7. INSPECT LIGHT AUTO TURN OFF BUZZER
Check that the buzzer sound when driver's door is opened and turn light control switch position TAIL.
If operation is not as specified, replace the combination meter.