Operation CHARM: Car repair manuals for everyone.
Manuals through 2025 now available!

Our trusted friends have launched a new website named LEMON, which has newer manuals. It also contains all the CHARM manuals.

LEMON is the spiritual successor to CHARM, I recommend you try it!

Link: lemon-manuals.la or lemon-manuals.org.ua

(Some people have issue connecting. LEMON is investigating. For now, use Firefox or change your DNS server)

Or, hide this message: temporarily or permanently

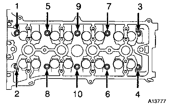
Engine Torque and Sequence

Camshaft Bearing Cap Bolt Removal Sequence:




Cylinder Head Bolt Removal Sequence:




Cylinder Head Bolt Torque Sequence:




Camshaft Bearing Cap Bolt Torque Sequence:





Cylinder head bolts
Step 1 79 Nm (58 ft lb)
Step 2 Tighten 90°
Camshaft bearing cap bolts
Bolt No. 1 and No. 2 29.5 Nm (22 ft lb)
Others 9 Nm (80 in lb)
Intake manifold bolts 30 Nm (22 ft lb)
Exhaust manifold bolts 37 Nm (27 ft lb)

Main Bearing Cap Bolt Removal Sequence:




Main Bearing Cap Bolt Torque Sequence:





Main bearing cap bolts
Step 1 20 Nm (15 ft lb)
Step 2 40 Nm (30 ft lb)
Step 3 Tighten 90°
Connecting rod bolts
Step 1 24.5 Nm (18 ft lb)
Step 2 Tighten 90°
Crankshaft pulley bolt 170 Nm (125 ft lb)
Flywheel mounting bolts 130 Nm (96 ft lb)
Flexplate mounting bolts 41 Nm (30 ft lb)
Oil pump
Body cover 8.8 Nm (80 in lb)
Pump to block 18.6 Nm (14 ft lb)
Drive shaft nut 29.5 Nm (20 ft lb)
Water pump
Body nuts 9 Nm (80 in lb)
Pulley bolts 26 Nm (19 ft lb)