Operation CHARM: Car repair manuals for everyone.
Manuals through 2025 now available!

Our trusted friends have launched a new website named LEMON, which has newer manuals. It also contains all the CHARM manuals.

LEMON is the spiritual successor to CHARM, I recommend you try it!

Link: lemon-manuals.la or lemon-manuals.org.ua

(Some people have issue connecting. LEMON is investigating. For now, use Firefox or change your DNS server)

Or, hide this message: temporarily or permanently

Part 2

REASSEMBLY

NOTICE:
- The automatic transaxle is composed of highly precision-finished parts, which necessitates a careful inspection before reassembly, because even a small nick could cause fluid leakage or affect the performance. The instructions here are organized so that you can work on only one component group at a time. This will help avoid confusion from similar-looking parts of different sub assemblies are on your workbench at the same time. The component groups are inspected and repaired from the converter housing side. As much as possible, complete the inspection, repair and reassembly before proceeding to the next component group. If a defect is found in a certain component group during reassembly, inspect and repair this group immediately. If a component group cannot be assembled because parts are being ordered, be sure to keep all parts of the group in a separate container while proceeding with disassembly, inspection, repair and reassembly of other component groups.
Recommended ATF: TYPE T-IV
- All disassembled parts should be washed clean and any fluid passages and holes should be blown through with compressed air.
- Dry all parts with compressed air but never use shop rags.
- When using compressed air, always aim at a place away from yourself to prevent accidentally spraying ATF or kerosene on your face.
- The recommended automatic transaxle fluid or kerosene should be used for cleaning.
- After cleaning, the parts should be arranged in the correct order for efficient inspection, repairs, and reassembly.
- When disassembling a valve body, be sure to match each valve together with the corresponding spring.
- New discs for the brakes and clutches that are to be used for replacement must be soaked in ATF for at least 15 minutes before reassembly.
- All of the oil seal rings, clutch discs, clutch plates, rotating parts and sliding surfaces should be coated with ATF before reassembly.
- All of the gaskets and rubber O-rings should be replaced.
- Do not apply adhesive cements to the gaskets and similar parts.
- Make sure that the ends of the snap ring are not aligned with one of the cutouts and are installed in the groove correctly. - If a worn bushing is to be replaced, the sub-assembly containing the bushing must also be replaced.
- Check thrust bearings and races for wear or damage. Replace when necessary. Use petroleum jelly to keep parts in place.
- When working with FIPG material, the following must be observed.
Using a razor blade and a gasket scraper, remove all the old packing (FIPG) material from the gasket surface.
Thoroughly clean all the components to remove all the loose material.
Clean both sealing surfaces with a non-residue solvent.
Parts must be reassembled within 10 minutes after the application. Otherwise, the packing (FIPG) material must be removed and reapplied.

16. INSTALL 2ND BRAKE





a. Install the 3 discs and 3 plates to the transaxle case.
b. Temporarily install the snap ring.





c. Using vernier calipers, measure the distance between the disk surface and snap ring surface.
d. Select the appropriate flange so that the pack clearance will meet the specified value.
Pack clearance: 0.62 - 0.91 mm (0.0244 - 0.0358 inch)

HINT: Pack clearance = Clearance - Flange thickness - Snap ring thickness 1.6 mm (0.063 inch).





Flange thickness: mm (inch)





e. Temporarily remove the snap ring, and attach the selected flange and restore the snap ring.

NOTICE: Secure the snap ring so that its end gap is visible through the groove of the transaxle case.

17. INSTALL DIRECT CLUTCH ASSEMBLY





a. Install the bearing race to the direct clutch.





Bearing race diameter





b. Install the direct clutch assembly and thrust bearing to the rear planetary sun gear assembly.

NOTICE: The disk in the direct clutch should completely meet with the hub attached outside the rear planetary sun gear. Otherwise, the rear cover cannot be installed.





c. Clean the connected part of the transaxle case and rear cover.
d. As shown in the illustration, place a straight edge on the direct clutch drum and measure the distance between the transaxle case and the straight edge using vernier calipers (Dimension B).





e. Measure 2 places of the rear cover as shown in the illustration and calculate dimension C using the following formula.

HINT: Dimension C = Dimension (1) - Dimension (2)

f. Calculate the end play value using the following formula. Select a thrust bearing which satisfies the end play value and install it.
End play: 0.198 - 0.936 mm (0.00800 - 0.03685 inch)

NOTICE: Make sure that the black race side faces the rear cover.

HINT: End play = Dimension C - Dimension B





Bearing thickness and diameter: mm (inch)





18. INSTALL 2 NEW APPLY GASKETS
19. INSTALL APPLY TUBE





a. Install the clamp to the apply pipe.

NOTICE: Make sure to install the clamp to the apply pipe before installing the apply tube to the transaxle case. This prevents the apply pipe from being deformed or damaged.





b. Install the 2 apply pipes and a bolt to the transaxle case.
Torque: 5.4 Nm (55 kgf-cm, 48 inch lbs.)

NOTICE: Each pipe is securely inserted until it reaches the stopper.


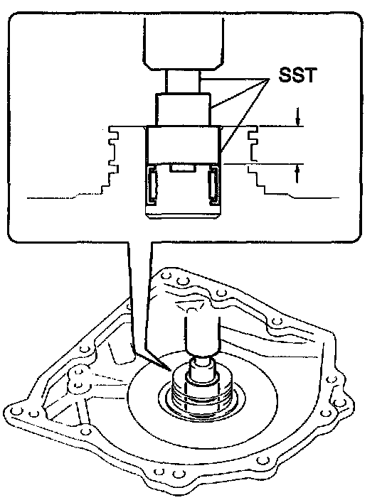
20. INSTALL TRANSAXLE REAR COVER





a. Using SST and a press, install the bearing.
SST 09950-60010 (09951-00230, 09951-00180, 09952-06010)
Press-fit depth: 12.05 - 12.75 mm (0.4744 - 0.5020 inch)

NOTICE:
- Face up the inscribed mark side of the bearing race.
- Repeat the press-fit until the specified value is obtained.

b. Install the plate with the 2 screws.
Torque: 7.5 Nm (76 kgf-cm, 66 inch lbs.)





c. Coat 2 oil seal rings with ATF, and install them to the transaxle rear cover.





d. Remove any packing material and be careful not to get oil on the contacting surfaces of the transaxle rear cover or the transaxle case.
e. Apply FIPG to the rear cover.
FIPG: Part No. 08826-00090, THREE BOND 1281 or equivalent.
f. Coat a needle roller bearing with ATF.





g. Apply liquid sealer to the "A" bolt threads.
Sealant: Part No. 08833-00080, THREE BOND 1344, LOCTITE 242 or equivalent.
h. Install the 11 bolts.
Torque:
Bolt A: 18.6 Nm (190 kgf-cm,14 ft. lbs.)
Other bolt: 24.5 Nm (250 kgf-cm,18 ft. lbs.)





21. INSPECT DISC AND FLANGE OF U/D BRAKE
Check if the sliding surface of the disc, plate and flange are worn or burnt. If necessary, replace them.

HINT:
- If the lining of the disc is peeled off or discolored, or if a part of the printed mark is defaced, replace all the discs.
- Before assembling new discs, soak them in ATF for at least 15 minutes.

22. INSTALL U/D BRAKE





a. Install the 3 discs and 3 plates to the transaxle case.





b. Using a screwdriver, install the snap ring.





c. Using a dial indicator, measure the U/D brake pack stroke while applying and releasing compressed air (196 kPa, 2.0 kgf/cm2, 28 psi).
Pack stroke: 1.81 - 2.20 mm (0.0713 - 0.0866 inch)

HINT: Select the appropriate flange from the table so that it will meet the specified value.





Flange thickness: mm (inch)

d. Temporarily remove the snap ring and attach the selected flange. Restore the snap ring.
23. INSTALL ONE-WAY CLUTCH NO. 2





a. Install the outer race retainer to the one-way clutch No. 2.





b. Install the U/D clutch assembly to the one-way clutch. Rotate the U/D clutch assembly to check the rotating direction for a lock or free operation.
24. INSTALL ONE-WAY CLUTCH NO. 2





a. Install the one-way clutch No. 2 to the transaxle case.

NOTICE: Make sure that the mark on the one-way clutch outer race is visible.





b. Using a screwdriver, install the snap ring to the transaxle case.
25. INSTALL U/D CLUTCH ASSEMBLY





a. Coat the bearing and bearing race with petroleum jelly and install it onto the U/D clutch.





Race diameter mm (inch)

b. Install the U/D clutch assembly to the transaxle case.

NOTICE: Adjust the U/D clutch while engaging the pawls of the clutch discs.

26. INSTALL U/D PLANETARY GEAR ASSEMBLY AND DIFFERENTIAL ASSEMBLY





a. Install the pawl pin and spring to the parking lock pawl.





b. Temporarily install the parking lock pawl, shaft and spring to the transaxle case as shown in the illustration.

HINT: When the U/D planetary gear is install, interference will be caused. And so push the parking lock pawl aside temporarily.





c. Install the U/D planetary gear assembly to the transaxle case.

NOTICE: Engage all the discs of U/D clutch and hub spline of the U/D planetary gear assembly firmly and assemble them securely.





d. Install the parking lock pawl shaft.





e. Install the pawl shaft with the bolt.
Torque: 9.8 Nm (100 kgf-cm, 7 ft. lbs.)





f. Using a straight edge and vernier calipers as shown in the illustration, measure the gap between the top of the differential drive pinion in the U/D planetary gear and contact surface of the transaxle case and housing. (Dimension D)

NOTICE: Note down dimension D as it is necessary for the following process.





g. As shown in the illustration, measure 2 places of the transaxle housing. Calculate dimension E using the formula.

NOTICE: Note down dimension E as it is necessary for the following process.

HINT: Dimension E = Dimension (1) - Dimension (2)





27. CHECK MULTIPLE DISC CLUTCH HUB BUSHING
Using a dial indicator, measure the inside diameter of the forward clutch hub bushing.
Standard inside diameter: 23.025 - 23.045 mm (0.90649 - 0.90728 inch)
Maximum inside diameter: 23.09 mm (0.9091 inch)

NOTICE:
- When the diameter is over the maximum, replace the multiple disc clutch hub with new one.
- Check the contact surface of the bush in the direct clutch shaft. If any scratch or discolor is identified, replace the direct clutch sub-assembly with new one.

If the inside diameter is greater than the maximum, replace the forward clutch hub.
28. INSTALL MULTIPLE DISC CLUTCH HUB





a. Install the bearing race to the transaxle while checking its direction.





Bearing race diameter: mm (inch)





b. Coat the thrust bearing and race with petroleum jelly and install them onto the multiple disc clutch hub.





Thrust bearing and race diameter: mm (inch)





c. Install the bearing to the multiple clutch hub.





Bearing diameter: mm (inch)

d. Install the forward clutch hub to the transaxle case.





e. Install the thrust bearing to the forward clutch.





Bearing diameter: mm (inch)

NOTICE: Install the thrust bearing properly so that the temper color race will be visible.





f. Install the forward clutch to the multiple clutch hub.

NOTICE: Align the splines of all the discs in the forward clutch with those of multiple clutch hub to assemble them securely.





29. INSTALL 2 NEW APPLY GASKETS





30. INSTALL DIFFERENTIAL ASSEMBLY