Operation CHARM: Car repair manuals for everyone.
Manuals through 2025 now available!

Our trusted friends have launched a new website named LEMON, which has newer manuals. It also contains all the CHARM manuals.

LEMON is the spiritual successor to CHARM, I recommend you try it!

Link: lemon-manuals.la or lemon-manuals.org.ua

(Some people have issue connecting. LEMON is investigating. For now, use Firefox or change your DNS server)

Or, hide this message: temporarily or permanently

Part 3

REASSEMBLY

NOTICE:
- The automatic transaxle is composed of highly precision-finished parts, which necessitates a careful inspection before reassembly, because even a small nick could cause fluid leakage or affect the performance. The instructions here are organized so that you can work on only one component group at a time. This will help avoid confusion from similar-looking parts of different sub assemblies are on your workbench at the same time. The component groups are inspected and repaired from the converter housing side. As much as possible, complete the inspection, repair and reassembly before proceeding to the next component group. If a defect is found in a certain component group during reassembly, inspect and repair this group immediately. If a component group cannot be assembled because parts are being ordered, be sure to keep all parts of the group in a separate container while proceeding with disassembly, inspection, repair and reassembly of other component groups.
Recommended ATF: TYPE T-IV
- All disassembled parts should be washed clean and any fluid passages and holes should be blown through with compressed air.
- Dry all parts with compressed air but never use shop rags.
- When using compressed air, always aim at a place away from yourself to prevent accidentally spraying ATF or kerosene on your face.
- The recommended automatic transaxle fluid or kerosene should be used for cleaning.
- After cleaning, the parts should be arranged in the correct order for efficient inspection, repairs, and reassembly.
- When disassembling a valve body, be sure to match each valve together with the corresponding spring.
- New discs for the brakes and clutches that are to be used for replacement must be soaked in ATF for at least 15 minutes before reassembly.
- All of the oil seal rings, clutch discs, clutch plates, rotating parts and sliding surfaces should be coated with ATF before reassembly.
- All of the gaskets and rubber O-rings should be replaced.
- Do not apply adhesive cements to the gaskets and similar parts.
- Make sure that the ends of the snap ring are not aligned with one of the cutouts and are installed in the groove correctly. - If a worn bushing is to be replaced, the sub-assembly containing the bushing must also be replaced.
- Check thrust bearings and races for wear or damage. Replace when necessary. Use petroleum jelly to keep parts in place.
- When working with FIPG material, the following must be observed.
Using a razor blade and a gasket scraper, remove all the old packing (FIPG) material from the gasket surface.
Thoroughly clean all the components to remove all the loose material.
Clean both sealing surfaces with a non-residue solvent.
Parts must be reassembled within 10 minutes after the application. Otherwise, the packing (FIPG) material must be removed and reapplied.

31. INSTALL TRANSAXLE HOUSING





a. Calculate the end play value using the following formula and values of Dimension D and E that were measured when installing cylindrical roller bearing and U/D planetary gear. Select the appropriate U/D planetary gear thrust bearing race No. 2 which satisfies the specified end play value, and install it.
End play: 0.498 - 0.993 mm (0.01961 - 0.03909 inch)

HINT: End play = Dimension E - Dimension D - Thrust bearing thickness 3.28 mm (0.1291 inch) - U/D gear thrust bearing race No. 2 thickness.





Race thickness: mm (inch)





Bearing and bearing race diameter: mm (inch)





b. Install the oil pump and 7 bolts to the transaxle case
Torque: 22 Nm (226 kgf-cm, 16 ft. lbs.)





c. Coat an O-ring of the oil pump with ATF.





d. Remove any packing material and be careful not to get oil on the contacting surfaces of the transaxle case or transaxle housing.
e. Apply FIPG to the transaxle case.
FIPG: Part No. 08826-00090, THREE BOND 1281 or equivalent





f. Install the transaxle housing and 16 bolts to the transaxle case.
Torque:
Bolt A: 22 Nm (226 kgf-cm, 16 ft. lbs.)
Bolt B and C: 29 Nm (300 kgf-cm, 22 ft. lbs.)

HINT: Apply seal packing or equivalent to bolt A.

Seal packing: THREE BOND 2403 or equivalent
Bolt length:
Bolt A: 50 mm (1.969 inch)
Bolt B: 50 mm (1.969 inch)
Bolt C: 42 mm (1.654 inch)

NOTICE: Because bolt A is a seal bolt, apply the seal packing to new bolts and tighten them within 10 minutes after the application.





32. INSPECT INPUT SHAFT END PLAY
Using a dial indicator, measure the input shaft end play.
End play: 0.262 - 1.249 mm (0.01031 - 0.04917 inch)
33. CHECK DIFFERENTIAL PRELOAD





34. PLACE TRANSAXLE HOUSING
35. INSTALL MANUAL VALVE LEVER SHAFT





a. Coat a new oil seal with ATF.
b. Install the oil seal to the transaxle case.





c. Install the parking lock rod to the manual valve lever.





d. Install a new spacer and manual valve lever shaft to the transaxle case.





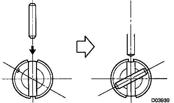
e. Using a pin punch and a hammer, drive in a new pin.





f. Turn the spacer and lever shaft to align the small hole for locating the staking position in the spacer with the staking position mark on the lever shaft.
g. Using a pin punch, stake the spacer through the small hole.
h. Check that the spacer does not turn.





i. Using needle-nose pliers, install the return spring.





j. Install the parking lock pawl bracket with the 2 bolts.
Torque: 20 Nm (205 kgf-cm, 15 ft. lbs.)
Bolt length: 25 mm (0.984 inch)





k. Install the manual detent spring with the 2 bolts.

NOTICE: Make sure to install the manual detent spring and cover in this order.

Torque:
Bolt A: 20 Nm (205 kgf-cm, 15 ft. lbs.)
Bolt B: 10.3 Nm (105 kgf-cm, 8 ft. lbs.)
Bolt length:
Bolt A: 27 mm (1.063 inch)
Bolt B: 16 mm (0.630 inch)





36. INSTALL ACCUMULATOR PISTONS AND SPRINGS
a. Coat 4 new O-rings with ATF and install them to the pistons.
b. Coat the 4 springs and 3 accumulator pistons with ATF and install them to the holes.





Accumulator spring:





37. INSTALL CHECK VALVE AND SPRING
38. INSTALL TRANSAXLE SOLENOID WIRE





a. Coat a new O-ring with ATF, and install it to the transaxle solenoid wire.





b. Install the solenoid wire retaining bolt
Torque: 5.4 Nm (55 kgf-cm, 48 inch lbs.)





39. INSTALL APPLY GASKET
Coat 3 apply gaskets with ATF and install them to the transaxle case.





40. INSTALL VALVE BODY ASSEMBLY
a. Align the groove of the manual valve with the pin of the lever.
b. Install the 17 bolts.
Torque: 11 Nm (110 kgf-cm, 8 ft. lbs.)

NOTICE:
- Push the valve body against the accumulator piston spring and check valve to install it.
- Tighten those bolts marked by "STAR" in the illustration first temporarily because they are positioning bolts.

HINT: Each bolt length is indicated.

Bolt length:
Bolt A: 25 mm (0.984 inch)
Bolt B: 41 mm (1.614 inch)
Bolt C: 45 mm (1.771 inch)
41. INSTALL OIL STRAINER





a. Coat a new O-ring with ATF, install it to the oil strainer.





b. Install the oil strainer and 3 bolts to the valve body.
Torque: 11 Nm (110 kgf-cm, 8 ft. lbs.)





c. Connect the 5 solenoid connectors.
d. Install the ATF temperature sensor, lock plate and bolt.
Torque: 6.6 Nm (67 kgf-cm, 58 inch lbs.)
42. INSTALL OIL PAN





a. Install the 3 magnets in the oil pan.
b. Apply seal packing or equivalent to the 18 new bolts.
Seal packing: THREE BOND 2430 or equivalent





c. Install a new gasket, oil pan and 18 bolts to the transaxle case.
Torque: 7.8 Nm (80 kgf-cm, 69 inch lbs.)

NOTICE: Because the bolts should be seal bolts, apply seal packing to new bolts and tighten them within 10 minutes after the application.





43. INSTALL SPEED SENSOR
a. Coat 2 new O-rings with ATF, install it to the 2 sensors.
b. Install the 2 sensors to the transaxle case with the 2 bolts.
Torque: 11 Nm (110 kgf-cm, 8 inch lbs.)





44. INSTALL UNION AND ELBOW
a. Coat 2 new O-rings with ATF, and install them to the union and elbow.
b. Install the union and elbow to the transaxle case.
Torque:
A: 24.5 Nm (250 kgf-cm, 18 ft. lbs.)
B: 27 Nm (276 kgf-cm, 20 ft. lbs.)





45. INSTALL TRANSAXLE CASE PLUG NO. 1
a. Coat a new O-ring with ATF, and install it to the transaxle case plug No. 1.
b. Install the transaxle case plug No. 1 to the transaxle case.
Torque: 7.4 Nm (75 kgf-cm, 65 inch lbs.)
46. INSTALL NEUTRAL START SWITCH





a. Install the neutral start switch onto the manual valve lever shaft and temporarily install the 2 adjusting bolts.
b. Install the new nut stopper and nut.
Torque: 6.9 Nm (70 kgf-cm, 61 inch lbs.)





c. Temporarily install the control shaft lever.





d. Turn the lever counterclockwise until it stops, then turn it clockwise by 2 notches.
e. Remove the control shaft lever.





f. Align the groove with the neutral basic line.
g. Tighten the 2 bolts.
Torque: 5.4 Nm (55 kgf-cm, 48 inch lbs.)





h. Using a screwdriver, stake the nut with the nut stopper.





i. Install the control shaft lever, washer and nut.
Torque: 12.7 Nm (130 kgf-cm, 9 ft. lbs.)