Operation CHARM: Car repair manuals for everyone.
Manuals through 2025 now available!

Our trusted friends have launched a new website named LEMON, which has newer manuals. It also contains all the CHARM manuals.

LEMON is the spiritual successor to CHARM, I recommend you try it!

Link: lemon-manuals.la or lemon-manuals.org.ua

(Some people have issue connecting. LEMON is investigating. For now, use Firefox or change your DNS server)

Or, hide this message: temporarily or permanently

Windshield: Service and Repair

REMOVAL

1. REMOVE INNER REAR VIEW MIRROR
2. REMOVE ROOF CONSOLE BOX
a. Using a screwdriver, remove roof console box cover.

HINT: Tape the screwdriver tip before use.

b. Remove the 3 screws and roof console box, then disconnect the connector.

3. REMOVE SUN VISORS AND HOLDERS
a. Remove the 4 screws and 2 sun visors.
b. Remove the 2 holders.

4. REMOVE FRONT PILLAR GARNISHES
5. REMOVE WIPER ARMS
6. REMOVE COWL TOP VENTILATOR LOUVER AND HOOD TO COWL TOP SEAL
7. REMOVE WINDSHIELD OUTSIDE MOULDING
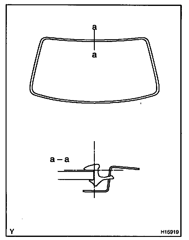
8. REMOVE WINDSHIELD MOULDING




a. Using a knife, cut off the moulding as shown in the illustration.

NOTE: Do not damage the body with the knife.

b. Remove the remaining moulding.

9. REMOVE WINDSHIELD GLASS




a. Push a piano wire through between the body and glass from the interior.
b. Tie both wire ends to wooden blocks or similar objects.

HINT: Apply protective tape to the outer surface to keep the surface from being scratched.






NOTE: When separating the glass, take care not to damage the paint and interior and exterior ornaments. To prevent scratching the safety pad when removing the windshield, place a plastic sheet between the piano wire and safety pad.

c. Cut the adhesive by pulling the piano wire around it.
d. Remove the glass.

NOTE: Leave as much of the adhesive on the body as possible when cutting off the glass.

INSTALLATION

1. CLEAN AND SHAPE CONTACT SURFACE OF BODY




a. Using a knife, cut away any rough areas on the body.

HINT: Leave as much of the adhesive on the body as possible.

b. Clean the cutting surface of the adhesive with a piece of shop rag saturated in cleaner.

HINT: Even if all the adhesive has been removed, clean the body.

2. CLEAN REMOVED GLASS




a. Remove the damaged stoppers and dam.
b. Using a scraper, remove the adhesive sticking to the glass.
c. Clean the glass with cleaner.

NOTE:
- Be careful not to damage the glass.
- Do not touch the glass after cleaning it.




3. INSTALL NEW STOPPERS
Install new stoppers onto the glass as shown in the illustration.




4. INSTALL NEW DAM
Install new dam with double-stick tape all the way around of glass except where the dam is installed as shown in the illustration.

5. POSITION GLASS




a. Place the glass in correct position.
b. Check that all contacting parts of the glass rim are perfectly even and do not make contact with the fasteners.
c. Place the reference marks between the glass and body.
d. Remove the glass.




6. CLEAN CONTACT SURFACE OF GLASS
Using a cleaner, clean the contact surface which is black-colored area around the entire glass rim.

NOTE: Do not touch the glass face after cleaning it.




7. COAT CONTACT SURFACE OF BODY WITH PRIMER "M"
Using a brush, coat Primer M to the exposed part of body on the vehicle side.

NOTE:
- Let the primer coating dry for 3 minutes or more.
- Do not coat Primer M to the adhesive.
- Do not keep any of the opened Primer M for later use.

8. COAT CONTACT SURFACE OF GLASS WITH PRIMER "G"




a. Using a brush or sponge, coat the edge of the glass and the contact surface with Primer G.
b. When the primer is coated wrongly to the area other than the specified, wipe it off with a clean shop rag before the primer dries.

NOTE:
- Let the primer coating dry for 3 minutes or more.
- Do not keep any of the opened Primer G for later use.

9. APPLY ADHESIVE
a. Cut off the tip of the cartridge nozzle.

Part No. 08850-00801 or equivalent






HINT: After cutting off the tip, use all adhesive within the described time in the table.

b. Load the cartridge into the sealer gun.




c. Coat the glass with adhesive as shown in the illustration.

Adhesive height:
A: 12 mm (0.47 in.)
B: 8 mm (0.31 in.)


10. INSTALL GLASS




a. Position the glass so that the reference marks are lined up, and press in gently along the rim.
b. Using a spatula, apply adhesive on the glass rim.




c. Use a scraper to remove any excessive or protruding adhesive.






HINT: Confirm that the dam is attached to the body panel, as shown in the illustration.

d. Hold the windshield glass in place securely with a protective tape or equivalent until the adhesive hardness.






NOTE: Take care not to drive the vehicle during the time described in the table.




11. INSTALL WINDSHIELD MOULDING AND WINDSHIELD OUTSIDE MOULDING
Place new moulding onto the body and install it by hand.

12. INSPECT FOR LEAKS AND REPAIR
a. Conduct a leak test after the hardening time has elapsed.
b. Seal any leak with auto glass sealer.

Part No. 08833-00030 or equivalent

13. INSTALL COWL TOP VENTILATOR LOUVER AND HOOD TO COWL TOP SEAL
14. INSTALL WIPER ARMS

Torque: 25 N.m (255 kgf.cm, 18 ft.lbf)

15. INSTALL FRONT PILLAR GARNISHES
16. INSTALL SUN VISORS AND HOLDERS
a. Install the 2 holders with the 2 screws.
b. Install the 2 sun visors with the 4 screws.

17. INSTALL ROOF CONSOLE BOX
a. Connect the connector, then install the roof console box with the 3 screws.
b. Install the roof console box cover.

18. INSTALL INNER REAR VIEW MIRROR