Operation CHARM: Car repair manuals for everyone.
Manuals through 2025 now available!

Our trusted friends have launched a new website named LEMON, which has newer manuals. It also contains all the CHARM manuals.

LEMON is the spiritual successor to CHARM, I recommend you try it!

Link: lemon-manuals.la or lemon-manuals.org.ua

(Some people have issue connecting. LEMON is investigating. For now, use Firefox or change your DNS server)

Or, hide this message: temporarily or permanently

Sensor Check (Test Mode)

SENSOR CHECK (TEST MODE)

Without using TOYOTA hand-held tester:

NOTE: When having replaced the steering angle sensor, master cylinder pressure sensor, deceleration sensor and/or ECU, perform zero point calibration of the steering angle, master cylinder pressure and deceleration sensors. Programming and Relearning

HINT: If the ignition switch is turned from ON to ACC or LOCK during test mode, DTC will be erased.




a. Procedures for test mode:
1. Turn the ignition switch OFF.
2. Check that the shift lever position is at P position, turn the steering wheel to the neutral position.
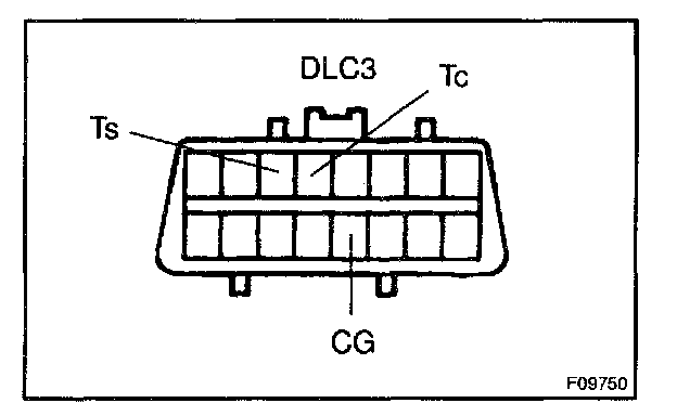
3. Using SST, connect terminals Ts and CG of DLC3.

SST 09843-18040

4. Start the engine.




5. Check that the ABS warning light and VSC TRAC warning light blinks.

HINT: If the ABS warning light and VSC TRAC warning light does not blink, inspect the ABS warning light circuit, VSC TRAC warning light circuit and Ts terminal circuit.

6. Keep the vehicle in the stationary condition on the flat place for 4 seconds or more.

b. Check the deceleration sensor.
Shift the shift lever to the D position and drive the vehicle at the vehicle speed of approx. 5 km/h (3 mph), turn the steering wheel either to left or right 90° or more, and maintain 180° circular drive for the vehicle.

HINT:
- If the VSC buzzer sounds, the sensor check is in normal completion.
- If the VSC buzzer does not sound, check the VSC buzzer circuit, then do the sensor check again.




c. Check the yaw rate sensor.
Shift the shift lever to the D position and drive the vehicle at the vehicle speed of approx. 5 km/h (3 mph), turn the steering wheel either to left or right for 90° or more, and maintain 180° circular drive for the vehicle.

Stop the vehicle and shift the shift lever to the P position, check that the VSC buzzer sounds for 3 seconds.

HINT:
- If the VSC buzzer sounds, the sensor check is in normal completion.
- If the VSC buzzer does not sound, check the VSC buzzer circuit, then do the sensor check again.
- Drive the vehicle circularly by 180°. At the end of the turn, the direction of the vehicle should be within 180° ± 5° of its start position.
- Do not spin the wheels.
- When the vehicle is driven to circle during the other sensor's check, even if the deceleration sensor check is not completed, the buzzer that indicates completion of the deceleration check may sound.

d. Check the master cylinder pressure sensor.
1. Keep the vehicle in the stationary condition on the flat place for 2 seconds or more.
2. Keeping the vehicle in the stationary condition and the brake pedal in free condition for 1 second or more, continue to depress the brake pedal with 147 N (15 kgf, 33 lbf) or more for 2 seconds or more.

HINT:
- At this time, the buzzer sounds for 3 seconds.
- If zero point calibration has not performed, sensor check cannot be completed correctly. Programming and Relearning

e. Check the steering angle sensor.
Fully turn the steering wheel to either right or left until it is locked and keep it for 1 second And then, turn it to the other full lock position and keep it for 1 second.

HINT:
- At this time, the VSC buzzer sounds for 3 seconds.
- If zero point calibration has not performed, sensor check cannot be completed correctly. Programming and Relearning

f. Check the speed sensor.
Drive vehicle straight forward.
When driving the vehicle at the speed faster than 45 km/h (28 mph) for several seconds, check that the ABS warning light comes off.

HINT: There is a case that the sensor check is not completed if the vehicle has its wheels spun or its steering wheel steered during this check.

g. Stop the vehicle.
h. Read the DTC.
1. Using SST; connect terminals Tc and CG of DLC3.

SST 09843-18040

2. Read the number of blinks of the warning light.






HINT:
- See the list of DTC.
- If every sensor is normal, a normal code is output (A cycle of 0.25 seconds ON and 0.25 seconds OFF is repeated).
- If 2 or more malfunctions are indicated at the same time, the lowest numbered code will be displayed 1st.

3. After doing the check, disconnect terminals Ts and CG, Tc and CG of DLC3, and turn the ignition switch OFF.
SST 09843-18040

In case of using TOYOTA hand-held tester:






NOTE: When having replaced the steering angle sensor, master cylinder pressure sensor, deceleration sensor and/or ECU, perform zero point calibration of the steering angle, master cylinder pressure and deceleration sensors. Make sure that this operation should be done before starting the following. Programming and Relearning

a. Hook up the TOYOTA hand-held tester to the DLC3.
b. Do steps (a)-(2) and from (a)-(4) to (g).
c. Read the DTC by following the prompts on the tester screen.

HINT: Please refer to the TOYOTA hand-held tester operator's manual for further details.

C1271/71 - C1281/81:




DTC of ABS sensor check function:

HINT: Read the number of blinks of the ABS warning light.

C0371/71 - C1208/72:




DTC of VSC sensor check function:

HINT: Read the number of blinks of the VSC TRAC warning light.