Operation CHARM: Car repair manuals for everyone.
Manuals through 2025 now available!

Our trusted friends have launched a new website named LEMON, which has newer manuals. It also contains all the CHARM manuals.

LEMON is the spiritual successor to CHARM, I recommend you try it!

Link: lemon-manuals.la or lemon-manuals.org.ua

(Some people have issue connecting. LEMON is investigating. For now, use Firefox or change your DNS server)

Or, hide this message: temporarily or permanently

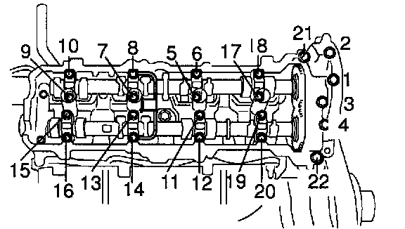
Engine Torque and Sequence

RH Camshaft Bearing Cap Bolts Removal Sequence:




LH Camshaft Bearing Cap Bolts Removal Sequence:




Cylinder Head Removal Sequence:




Cylinder Head Installation Sequence:




Camshaft Bearing Cap Bolts A:




RH Camshaft Bearing Cap Bolts Torque Sequence:




Camshaft Bearing Cap Bolts:




LH Camshaft Bearing Cap Bolts Torque Sequence:





Cylinder head bolts
Step 1 32 Nm (24 ft lb)
Step 2 Tighten 90°
Step 3 Retighten additional 90°.
Camshaft bearing cap bolts
Bolt A (see image) 7.5 Nm (69 in lb)
Others 16 Nm 12 ft lb)

Bolt Lengths
25 mm (0.98 in.) for A
38 mm (1.50 in ) for B
52 mm (2.05 in. ) for C
72 mm (2.83 in. ) for D
94 mm (3.70 in. ) for E


Intake manifold torque 18 Nm (13 ft lb)
Exhaust manifold torque 44 Nm (32 ft lb)








Drive plate (flexplate)
Step 1 49 Nm (36 ft lb)
Step 2 Tighten 90°
Main bearing cap bolts
Step 1 27 Nm (20 ft lb)
Step 2 Tighten 90°
Connecting rod cap bolts
Step 1 24.5 Nm (18 ft lb)
Step 2 Tighten 90°
Oil pump
14mm head bolt 30.5 Nm (22 ft lb)
Others 15.5 Nm (11 ft lb)
Crankshaft pulley bolt 245 Nm (181 ft lb)