Operation CHARM: Car repair manuals for everyone.
Manuals through 2025 now available!

Our trusted friends have launched a new website named LEMON, which has newer manuals. It also contains all the CHARM manuals.

LEMON is the spiritual successor to CHARM, I recommend you try it!

Link: lemon-manuals.la or lemon-manuals.org.ua

(Some people have issue connecting. LEMON is investigating. For now, use Firefox or change your DNS server)

Or, hide this message: temporarily or permanently

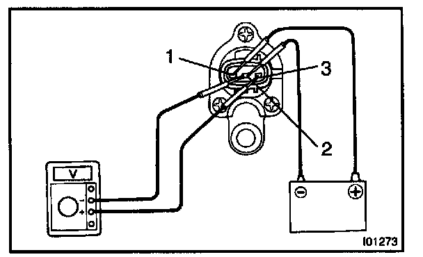
Vehicle Speed Sensor: Testing and Inspection




INSPECT VEHICLE SPEED SENSOR OPERATION
a. Connect the positive (+) lead from battery to terminal 1 and negative (-) lead to terminal 2.
b. Connect the positive (+) lead from tester to terminal 3 and the negative (-) lead to terminal 2.
c. Rotate the shaft.
d. Check that there is voltage change from approx. 0 V to 11 V or more between terminals 2 and 3.

HINT: The voltage change should be 4 times for every revolution of the speed sensor shaft.

If operation is not as specified, replace the sensor.