Operation CHARM: Car repair manuals for everyone.
Manuals through 2025 now available!

Our trusted friends have launched a new website named LEMON, which has newer manuals. It also contains all the CHARM manuals.

LEMON is the spiritual successor to CHARM, I recommend you try it!

Link: lemon-manuals.la or lemon-manuals.org.ua

(Some people have issue connecting. LEMON is investigating. For now, use Firefox or change your DNS server)

Or, hide this message: temporarily or permanently

Oxygen Sensor: Testing and Inspection





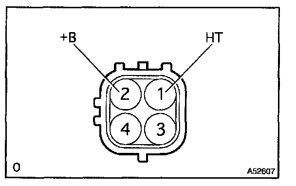
INSPECT HEATER RESISTANCE OF A/F SENSORS
a. Disconnect the A/F sensor connector.
b. Using an ohmmeter, measure the resistance between the terminals +B and HT.
Resistance:
0.8 - 1.4 (Ohm) at 20 °C (68 °F)
1.8 - 3.2 (Ohm) at 800 °C (1,472 °F)
If the resistance is not as specified, replace the sensor.

c. Reconnect the A/F sensor connector.





INSPECT HEATER RESISTANCE OF OXYGEN SENSOR
a. Disconnect the oxygen sensor connector.
b. Using an ohmmeter, measure the resistance between the terminals +B and HT
Resistance: 11 - 16 (Ohm) at 20 °C (68 °F)
If the resistance is not as specified, replace the sensor.

c. Reconnect the oxygen sensor connector.