Operation CHARM: Car repair manuals for everyone.
Manuals through 2025 now available!

Our trusted friends have launched a new website named LEMON, which has newer manuals. It also contains all the CHARM manuals.

LEMON is the spiritual successor to CHARM, I recommend you try it!

Link: lemon-manuals.la or lemon-manuals.org.ua

(Some people have issue connecting. LEMON is investigating. For now, use Firefox or change your DNS server)

Or, hide this message: temporarily or permanently

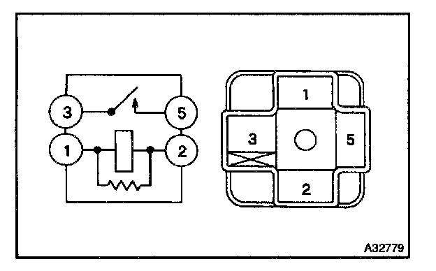
Starter Relay: Testing and Inspection




STARTER RELAY ASSEMBLY
a. Inspect the relay continuity.
1. Using an ohmmeter, check that there is continuity between terminals 1 and 2.
If there is no continuity, replace the relay.
2. Check that there is no continuity between terminals 3 and 5.
If there is continuity, replace the relay.

b. Inspect the relay operation.
1. Apply battery positive voltage across terminals 1 and 2.
2. Using an ohmmeter, check that there is continuity between terminals 3 and 5.
If there is no continuity, replace the relay.