Operation CHARM: Car repair manuals for everyone.
Manuals through 2025 now available!

Our trusted friends have launched a new website named LEMON, which has newer manuals. It also contains all the CHARM manuals.

LEMON is the spiritual successor to CHARM, I recommend you try it!

Link: lemon-manuals.la or lemon-manuals.org.ua

(Some people have issue connecting. LEMON is investigating. For now, use Firefox or change your DNS server)

Or, hide this message: temporarily or permanently

Power Window Motor: Testing and Inspection

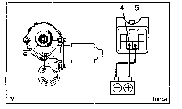
Front left side door and rear right side door: INSPECT POWER WINDOW MOTOR OPERATION




a. Connect the positive (+) lead from the battery to terminal 4 and the negative (-) lead to terminal 5, check that the motor turns clockwise.




b. Reverse the polarity, check that the motor turns counter- clockwise.
If operation is not as specified, replace the motor.

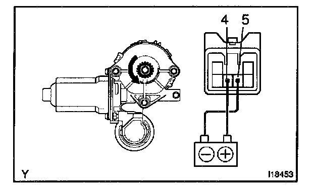
Front right side door and rear left side door: INSPECT POWER WINDOW MOTOR OPERATION




a. Connect the positive (+) lead from the battery to terminal 5 and the negative (-) lead to terminal 4, check that the motor turns clockwise.




b. Reverse the polarity, check that the motor turns counterclockwise.
If operation is not as specified, replace the motor.

Driver's door: INSPECT POWER WINDOW MOTOR PTC OPERATION




a. Connect the positive (+) lead from the battery to terminal 4 and the negative (-) lead to terminal 9 on the wire harness side connector, and raise the window to fully closed position.




b. Continue to apply voltage, check that a circuit breaker operation noise is heard within approximately 4 to 90 seconds.
c. Reverse the polarity, check that the window begins to descend within approximately 60 seconds.
If operation is not as specified, replace the motor.

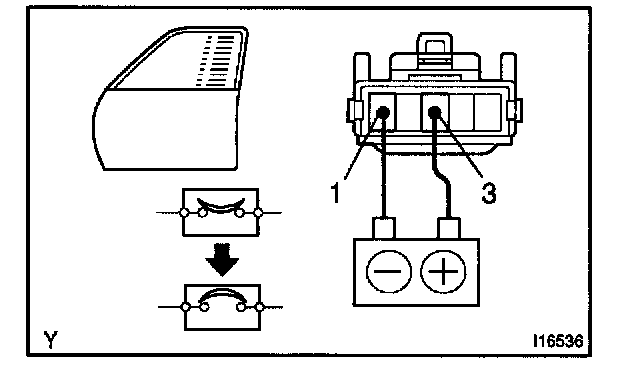
Passenger's door and rear door: INSPECT POWER WINDOW MOTOR PTC OPERATION





a. Disconnect the connector from the power window switch.
b. Connect the positive (+) lead from the battery to terminal 3 and the negative (-) lead to terminal 1 on the wire harness side connector, and raise the window to fully closed position.




c. Continue to apply voltage, check that circuit breaker operation noise is heard within approximately 4 to 90 seconds.
d. Reverse the polarity, check that the window begins to descend within approximately 60 seconds.
If operation is not as specified, replace the motor.