Operation CHARM: Car repair manuals for everyone.
Manuals through 2025 now available!

Our trusted friends have launched a new website named LEMON, which has newer manuals. It also contains all the CHARM manuals.

LEMON is the spiritual successor to CHARM, I recommend you try it!

Link: lemon-manuals.la or lemon-manuals.org.ua

(Some people have issue connecting. LEMON is investigating. For now, use Firefox or change your DNS server)

Or, hide this message: temporarily or permanently

Reassembly






REASSEMBLY





1. INSTALL REAR BEARING OUTER RACE
Using SST and a press, install the outer race.
SST 09950-60010 (09951-00620), 09950-70010 (09951-07150)





2. INSTALL FRONT BEARING OUTER RACE
a. Install the washer to the transfer case.

HINT: First install a washer of the same thickness as before.

b. Using SST, bolt and nut, install outer race to the transfer case.
SST 09950-60010 (09951-00610, 09951-00620), 09950-60020 (09951-00790), 09951-00810)





3. INSTALL BEARING OUTER RACE LH
a. Install the washer to the transfer case.

HINT: First install a washer of the same thickness as before.

b. Using SST and a press, install outer race to the transfer case.
SST 09950-60010 (09951-00700), 09950-70010 (09951-7200)
4. INSTALL DRIVEN PINION





a. Using SST and a press, install the front bearing inner race to the driven pinion.
SST 09316-60011 (09316-00041)





b. Install the driven pinion to the transfer case.





c. Install a new spacer and rear bearing inner race to the driven pinion.





d. Using SST, install the lock nut.
SST 09326-20011, 09556-16030
Torque: 308 Nm (3,142 kgf-cm, 227 ft. lbs.) for use with SST 349 Nm (3,560 kgf-cm, 257 ft. lbs.)

HINT:
- Using a torque wrench with a fulcrum length of 380 mm (15.03 inch).
- This torque value is effective in case the SST is parallel to torque wrench.

NOTICE: Do not tighten the nut until the final adjustment of the preload, tooth contact and backlash is completed.





5. CHECK DRIVEN PINION PRELOAD
Using SST and torque wrench, measure the driven pinion preload.
SST 09326-20011
Preload (at starting):
New bearing: 0.9 - 1.4 Nm (9 - 14 kgf-cm, 7.8 - 12.4 inch lbs.)
Reused bearing: 0.8 - 1.1 Nm (8 - 11 kgf-cm, 7.1 - 9.7 inch lbs.)

HINT:
- Using a torque wrench with a fulcrum length of 160 mm (6.3 inch).
- This torque value is effective in case that SST is parallel to torque wrench.
- If the preload is not sufficient, adjust the driven pinion by tightening the lock nut by 5 to 10 and measuring the preload until the preload is with in the standard value.
- If the preload is more than the standard value, replace the spacer with a new one.
- If the tightening torque for a driven pinion nut is more than the standard value, and the preload is not sufficient, loosen the lock nut, apply gear oil on the thread and bearing surface and adjust it as described above. When the tightening torque is less than the standard value, replace the spacer with a new one

6. ASSEMBLE CENTER DIFFERENTIAL CONTROL COUPLING





a. Clean the contact surface of the ring gear and center differential control coupling.
b. Heat the ring gear in water and boil for 10 minutes.
c. Carefully remove the ring gear from the water.





d. After the moisture on the ring gear has completely evaporated, quickly install the ring gear to the center differential control coupling.
e. Install the 12 bolts.
Torque: 77.5 Nm (791 kgf-cm, 57 ft. lbs.)





f. Using SST and a press, install the center differential case tapered roller bearing inner race LH and RH.
SST 09223-00010, 09506-35010, 09950-00010 (09951-00420)





7. INSTALL CENTER DIFFERENTIAL CONTROL COUPLING





8. INSTALL CENTER DIFFERENTIAL CASE TAPERED ROLLER BEARING OUTER RACE RH
a. Install the washer to the bearing retainer RH.

HINT: First install a washer of the same thickness as before.

b. Using SST and a press, install the outer race to the bearing retainer RH.
SST 09550-60010 (09951-00620), 09950-70010 (09951-07150)
9. INSTALL BEARING RETAINER RH





a. Put the installation surface for the bearing retainer RH of the transfer case upward.
b. Install the center differential control coupling onto the transfer case and make the center meet each other.





c. Insert the SST to the bearing retainer RH.
SST 09387-00090

NOTICE: Insert SST straight in order not to damage the oil seal.





d. Install the bearing retainer RH with the SST to the transfer center differential control coupling.

NOTICE:
- Do not make the transfer case, bearing retainer RH and SST interfere forcibly with the center differential control coupling.
- Pay attention for the damage and peeling off in the ring of the retainer.

HINT: When the bearing retainer cannot be inserted, hit it soft with the plastic hammer and insert it.





e. After having inserted the bearing retainer to the transfer case, remove SST.
f. Install 7 bolts.
Torque: 28 Nm (286 kgf-cm, 115 ft. lbs.)





10. INSPECT BACKLASH
Using a dial indicator, measure the backlash of the ring gear at 3 positions at least.
Backlash: 0.10 - 0.15 mm (0.0039 - 0.0059 inch)

HINT: The measure values should be used as reference when selecting washer, so take a note of the values.
If the backlash is not within the specification replace the washer on the ring gear side with one of a different thickness using the following procedure.





Washer thickness: mm (inch)





11. INSPECT TOOTH CONTACT PATTERN








a. Coat 3 or 4 teeth at the 4 different positions on the ring gear with red lead.
b. Rotate the ring gear, inspect the teeth pattern.





c. If the teeth are not contacting properly, select the proper washer again.





Washer thickness: mm (inch)

12. ADJUST TOTAL PRELOAD





Using SST and a torque wrench, measure the total preload.
SST 09326-20011
Total preload:
New bearing:
Driven pinion preload + 0.2 - 0.4 Nm (2 - 4 kgf-cm, 1.7 - 3.5 inch lbs.)
Reused bearing:
Driven pinion preload + 0.1 - 0.3 Nm (1 - 3 kgf-cm, 0.9 - 2.7 inch lbs.)

HINT: Using a torque wrench with a fulcrum length of 160 mm (6.3 inch)





HINT: Turn the driven pinion counterclockwise and clockwise several times.
If the preload non-standard, again select proper washer.





Washer thickness: mm (inch)

13. REMOVE BEARING RETAINER RH





a. Remove the 7 bolts.





b. Using a screwdriver and a hammer, make clearance by hitting between the bearing retainer RH and the transfer case.





c. Using SST remove the bearing retainer RH from the transfer case.
SST 09520-10021





d. Using SST, remove the outer race and washer from the bearing retainer RH.
SST 09308-00010
14. ASSEMBLE BEARING RETAINER RH





a. Install the side gear shaft holder bearing to the bearing retainer RH.
b. Using a snap ring pliers, install the snap ring.
c. Coat a new oil seal lip with MP grease.





d. Using SST and a press, install the oil seal to the bearing retainer RH.
SST 09950-00010 (09951-00370, 09951-00540, 09952-06010), 09950-70010 (09951-07150)
e. Install the washer.





f. Using SST and a press, install the outer race to the bearing retainer RH.
SST 09950-60010 (09951-00620), 09950-70010 (09951-07150)





g. Coat 2 new O-rings with gear oil, the install them to the bearing retainer RH.
15. INSTALL BEARING RETAINER RH





a. Put the installation surface for the bearing retainer RH of the transfer case upward.
b. Install the center differential control coupling onto the transfer case and make the center meet each other.





c. Insert the SST to the bearing retainer RH.
SST 09387-00090

NOTICE: Insert SST straight in order not to damage the oil seal.





d. Install the bearing retainer RH with the SST to the transfer center differential control coupling.

NOTICE:
- Do not make the transfer case, bearing retainer RH and SST interfere forcibly with the center differential control coupling.
- Pay attention for the damage and peeling off in the ring of the retainer.

HINT: When the bearing retainer cannot be inserted, hit it soft with the plastic hammer and insert it.





e. After having inserted the bearing retainer to the transfer case, remove SST.
f. Install 7 bolts.
Torque: 28 Nm (286 kgf-cm, 115 ft. lbs.)
16. PRECHECK TOTAL PRELOAD (See Step 12)
17. INSTALL OIL SEAL
a. Coat a new oil seal lip with MP grease.





b. Using SST, install the oil seal to the bearing retainer RH.
SST 09223-06011
c. Coat a new oil seal lip with MP grease.





d. Using SST, install the oil seal to the transfer case.
SST 09387-00010, 09950-70010 (09951-07150)
18. INSTALL CENTER DIFFERENTIAL LOCK SLEEVE





a. Coat new O-ring with gear oil, install it to the center differential lock sleeve.





b. Using SST, install the center differential lock sleeve to the transfer case.
SST 09950-60010 (09951-00600), 09950-70010 (09951-07150)





c. Using snap ring pliers, install the snap ring.





19. STAKE LOCK NUT
Using a chisel and a hammer, stake the lock nut.
20. INSTALL EXTENSION HOUSING
a. Coat the oil seal lip with MP grease.





b. Using SST, install the oil seal to the extension housing.
SST 09950-00010 (09951-00380, 09951-00590, 09952-06010) 09950-70010 (09951-07150)





c. Using SST and a press, install the dust deflector to the ex-tension housing.
SST 09950-60010 (09951-00640), 09950-70010 (09951-07150)





d. Remove any FIPG material and be careful not to drop oil on the contacting surfaces of the extension housing and the transfer case.
e. Apply FIPG to the extension housing.
FIPG: Part No. 08826-00090, THREE BOND 1281 or equivalent





f. Install the extension housing with the 4 bolts.
Torque: 25.5 Nm (260 kgf-cm, 19 ft. lbs.)





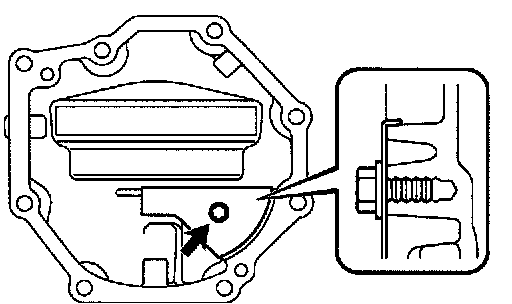
21. INSTALL STUD BOLT
Install the 4 stud bolts to the transfer case.
Torque: 39.2 Nm (400 kgf-cm, 29 ft. lbs.)

HINT: From the bottom side of the stud bolt shown in the illustration it should be installed to the case.





22. INSTALL PIN
Using a plastic hammer, install the 4 pins.
23. REMOVE TRANSFER FROM OVERHAUL ATTACHMENT
24. INSTALL NO. 1 CASE COVER





a. Install the oil deflector with the bolt to the No.1 case cover.
Torque: 6.5 Nm (66 kgf-cm, 58 inch lbs.)

NOTICE: Pay due attention to the direction of deflector bending.





b. Remove any FIPG material and be careful not to drop oil on the contacting surfaces of the No.1 case cover and the transfer case.
c. Apply FIPG to the No. 1 case cover.
FIPG: Part No.08820-00090, THREE BOND 1281 or equivalent





d. Install the case cover with 2 new bolts and 6 bolts.
Torque: 19.6 Nm (200 kgf-cm, 14 ft. lbs.)





25. INSTALL NO. 2 INTERMEDIATE SIDE GEAR
26. INSTALL GASKET
Coat new gasket with ATF, install it to the transfer case.