Operation CHARM: Car repair manuals for everyone.
Manuals through 2025 now available!

Our trusted friends have launched a new website named LEMON, which has newer manuals. It also contains all the CHARM manuals.

LEMON is the spiritual successor to CHARM, I recommend you try it!

Link: lemon-manuals.la or lemon-manuals.org.ua

(Some people have issue connecting. LEMON is investigating. For now, use Firefox or change your DNS server)

Or, hide this message: temporarily or permanently

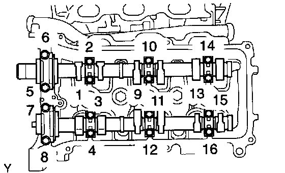
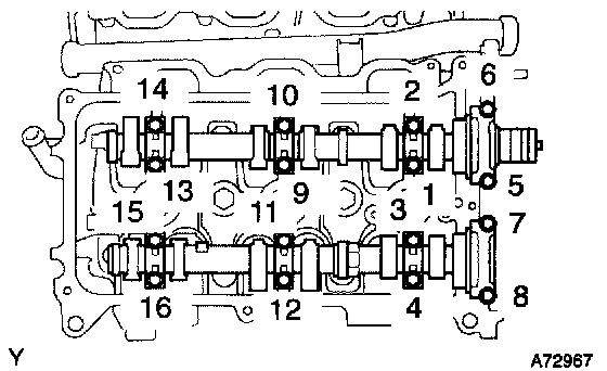
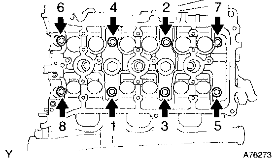
Engine Torque and Sequence

Part 1 Of 2:




Part 2 Of 2:





TORQUE SPECIFICATIONS










Cylinder Head Bolts (Recessed Head)
Step 1 36 Nm (367 kgf-cm, 27 ft.lb)
Step 2 Turn 180°





Cylinder Head Bolts (14 mm Head) 30 Nm (306 kgf-cm, 22 ft.lb)

If any cylinder head bolt is broken or deformed, replace it.


Intake Manifold Bolts 28 Nm (286 kgf-cm, 21 ft.lb)
Exhaust Manifold Sub-Assy 30 Nm (306 kgf-cm, 22 ft.lb)








Camshaft Bearing Cap Bolts
10 mm Head 9.0 Nm (92 kgf-cm, 80 in.lb)
12 mm Head 24 Nm (245 kgf-cm, 18 ft.lb)





Main Bearing Cap Bolts (12 pointed head)
Step 1 61 Nm (622 kgf-cm, 45 ft.lb)
Step 2 Turn 90°





Main Bearing Cap Bolts (12mm head) 35 Nm (357 hgf-cm, 26 ft.lb)