Operation CHARM: Car repair manuals for everyone.
Manuals through 2025 now available!

Our trusted friends have launched a new website named LEMON, which has newer manuals. It also contains all the CHARM manuals.

LEMON is the spiritual successor to CHARM, I recommend you try it!

Link: lemon-manuals.la or lemon-manuals.org.ua

(Some people have issue connecting. LEMON is investigating. For now, use Firefox or change your DNS server)

Or, hide this message: temporarily or permanently

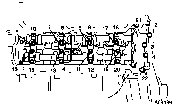
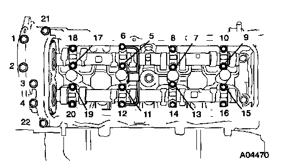
Cylinder Head Torque and Sequence





Cylinder Head Surface Variation (Warpage)
Maximum 0.10 mm (0.0039 inch)

Cylinder Head Bolts

Torque 32 Nm (325 kgf-cm, 24 ft. lbs.) Initial Torque + 90° + 90°


Cylinder Head Installation Sequence:






Tightening Sequence


Bearing Cap Bolts
Length:
94 mm (3.70 inch) for A
72 mm (2.83 inch) for B
25 mm (0.98 inch) for C
52 mm (2.05 inch) for D
38 mm (1.50 inch) for E

Torque:
Bolt C 7.5 Nm (80 kgf-cm, 69 inch lbs.)
Others 16 Nm (160 kgf-cm, 12 ft. lbs.)


Tightening Sequence:





RH Camshaft





LH Camshaft

Intake Manifold
Torque 18 Nm (185 kgf-cm, 13 ft. lbs.)

Exhaust Manifold
Torque 44 Nm (450 kgf-cm, 32 ft. lbs.)


INSTALL CYLINDER HEAD BOLTS

HINT:
- The cylinder head bolts are tightened in 3 progressive steps (steps (c) and (e)).
- If any cylinder head bolt is broken or deformed, replace it.

a. Apply a light coat of engine oil on the threads and under the heads of the cylinder head bolts.
b. Install the plate washer to the cylinder head bolt.

Cylinder Head Installation Sequence:





c. Install and uniformly tighten the 10 cylinder head bolts on one side of the cylinder head in several passes in the sequence shown, then do the other side as shown.
Torque: 32 Nm (325 kgf-cm, 24 ft. lbs.)
If any of the cylinder head bolts does not meet the torque specification, replace the cylinder head bolt.





NOTICE: Do not drop the plate washer for cylinder head bolt into portion A of the cylinder head. If dropped into portion A, the plate washer will pass through the cylinder head and cylinder block into the oil pan.






d. Mark the front of the cylinder head bolt with paint.
e. Retighten the cylinder head bolts by 90° in the numerical order shown.
f. Check Torque and tighten an additional 90°.
g. Check that the painted mark is now at a 180° angle to front.