Operation CHARM: Car repair manuals for everyone.
Manuals through 2025 now available!

Our trusted friends have launched a new website named LEMON, which has newer manuals. It also contains all the CHARM manuals.

LEMON is the spiritual successor to CHARM, I recommend you try it!

Link: lemon-manuals.la or lemon-manuals.org.ua

(Some people have issue connecting. LEMON is investigating. For now, use Firefox or change your DNS server)

Or, hide this message: temporarily or permanently

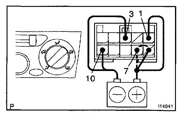
Component Inspection

INSPECTION




1. INSPECT ILLUMINATION OPERATION
Connect the positive (+) lead from the battery to terminal 7 and negative (-) lead to terminal 4 then check that the illuminations lights up.
If operation is not as specified, check the faulty bulb.




2. INSPECT BULB
Apply the tester as shown in the illustration to the test for continuity.
If continuity exists, replace the heater control.
If no continuity exists, replace the bulb.




3. INSPECT A/C INDICATOR OPERATION
a. Connect the positive (+) lead from the battery to terminal 1 and the negative (-) lead to terminal 3 and 10.
b. Push the A/C button in and then check that the indicator lights up.
If operation is not as specified, replace the switch.




4. INSPECT DIMMING OPERATION
a. Connect the positive (+) lead from the battery to terminal 1 and the negative (-) lead to terminal 3 and 10 while press the switch.
b. Connect the positive (+) lead from battery to terminal 7 and then check that the indicator dims.
If operation is not as specified, replace the switch.







5. INSPECT A/C SWITCH CONTINUITY
Switch continuity:
If continuity is not as specified, replace the switch.
Illumination circuit:
If continuity is not as specified, replace the bulb.







6. INSPECT BLOWER SPEED CONTROL SWITCH CONTINUITY
If continuity is not as specified, replace the switch.







7. INSPECT DEFROSTER MODE SWITCH OPERATION
If no continuity exists, replace the switch.

8. INSPECT REAR DEFOGGER SWITCH OPERATION