Operation CHARM: Car repair manuals for everyone.
Manuals through 2025 now available!

Our trusted friends have launched a new website named LEMON, which has newer manuals. It also contains all the CHARM manuals.

LEMON is the spiritual successor to CHARM, I recommend you try it!

Link: lemon-manuals.la or lemon-manuals.org.ua

(Some people have issue connecting. LEMON is investigating. For now, use Firefox or change your DNS server)

Or, hide this message: temporarily or permanently

Part 2

OVERHAUL





51. INSTALL TRANSFER RING GEAR MOUNTING CASE
a. Apply gear oil to the ring gear mounting case.
b. Install the ring gear mounting case to the transfer case.





52. INSTALL TRANSFER OUTPUT SHAFT SPACER No. 1
a. To install a new spacer No. 1, align the cutouts on it with the hole of the case as shown in the illustration.





53. INSTALL TRANSFER RING GEAR MOUNTING CASE WASHER No. 2
a. Using a brass bar and a hammer, install a new case washer No. 2.

HINT: Install a new washer No. 2 with the same thickness as the removed one.





54. INSTALL BEARING CAP
a. Install the bearing cap with the 2 bolts.
Torque: 63.2 Nm (644 kgf-cm, 47 ft. lbs.)
55. INSPECT BACKLASH





a. Place a dial indicator on the teeth surface on the ring gear vertically, check with fixing the driven pinion and moving the ring gear.
Backlash: 0.10 - 0.15 mm (0.0039 - 0.0059 inch)

NOTICE: Check at least 3 positions on the circumference of the ring gear.





b. If the backlash is not in the range of specified value, select the ring gear mounting case bearing LH side washer from the table and install it to meet the specified value.





Washer thickness: mm (inch)

56. INSPECT TOOTH CONTACT BETWEEN RING GEAR AND DRIVEN PINION





a. Coat 3 or 4 teeth at the 4 different positions on the ring gear with red read.





b. Rotate the ring gear, inspect the teeth pattern.





c. If the teeth are not contacting properly, select the proper washer again.





Washer thickness: mm (inch)

NOTICE: When the board thickness is changed, readjust the backlash.

57. ADJUST MEASURE TOTAL PRELOAD





a. Using SST and a torque wrench, measure the total preload.
SST 09326-20011
Total preload:
New bearing:
Driven pinion preload +0.3 - 0.45 Nm (3 - 5 kgf-cm, 2.7 - 4.0 inch lbs.)
Reused bearing:
Driven pinion preload +0.19 - 0.33 Nm (2 - 3 kgf-cm, 1.7 - 2.9 inch lbs.)





HINT:

^ Using a torque wrench with a fulcrum length of 160 mm (6.3 inch).
^ Turn the driven pinion counterclockwise and clockwise several times.

If the preload non-standard, again select proper washer.





Washer thickness mm (in)





b. Using a chisel and a hammer, stake the gear nut.





58. INSTALL TRANSFER CASE RH OIL SEAL
a. Using SST and a hammer, drive a new oil seal into the case until it reaches the position shown in the illustration.
SST 09950-60010 (09951-00360, 09951-00590, 09952-06010), 09950-70010 (09951-07150)
Drive in depth: 33.7 - 34.3 mm (1.328 - 1.350 inch)

NOTICE: Do not install the oil seal at an angle.

b. Apply a little MP grease to the lip of the oil seal.





59. INSTALL TRANSFER CASE OIL SEAL
a. Using SST and a hammer, drive a new oil seal into the transfer case until the position in the illustration.
SST 09316-60011 (09316-00011)
Drive in depth: 9.7 - 10.3 mm (0.328 - 0.406 inch)

NOTICE: Do not install the oil seal at an angle.

b. Apply a little MP grease to the lip of the oil seal.





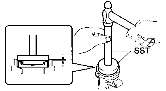
60. INSTALL TRANSFER EXTENSION HOUSING TYPE T OIL SEAL
a. Using SST and a hammer, drive a new oil seal into the extension housing until the position in the illustration.
SST 09950-60010 (09951-00380, 09951-00580, 09952-06010), 09950-70010 (09951-07150)
Drive in depth: 1.1 - 1.9 mm (0.043 - 0.075 inch)
b. Apply a little MP grease to the lip of the oil seal.





61. INSTALL TRANSFER EXTENSION HOUSING DUST DEFLECTOR
a. Using SST and a press, install the dust deflector to the extension housing.
SST 09950-60010 (09951-00640), 09950-70010 (09951-07150)
62. INSTALL TRANSFER EXTENSION HOUSING SUB-ASSY





a. Remove any FIPG material and be careful not to drop oil on the contacting surfaces of the extension housing sub-assy and the transfer case.
b. Degrease the surface with white gasoline.
c. Apply FIPG to the extension housing sub-assy.
FIPG: Part No. 08826-00090, THREE BOND 1281 or equivalent





d. Install the extension housing sub-assy with the 4 bolts to the case.
Torque: 25.5 Nm (260 kgf-cm, 19 ft. lbs.)

NOTICE: Assemble transfer extension housing sub-assy within 10 minutes after FIPG application.

63. SEPARATE TRANSFER ASSY
a. Remove the transfer assy from the overhaul attachment.





64. INSTALL TRANSFER CASE STRAIGHT PIN
a. Using a plastic hammer, drive the 4 straight pins into the position in the illustration of the case.





65. INSTALL TRANSFER DYNAMIC DAMPER
a. Install the transfer dynamic damper with the 3 bolts to the extension housing sub-assy.
Torque: 25.5 Nm (260 kgf-cm, 19 ft. lbs.)
66. INSTALL TRANSFER CASE BREATHER PLUG
67. INSTALL TRANSFER CASE COVER No. 1





a. Install the breather oil deflector with the bolt.
Torque: 6.5 Nm (66 kgf-cm, 58 inch lbs.)
b. Remove any FIPG material and be careful not to drop oil on the contacting surfaces of the transfer case cover No. 1 and the transfer case.
c. Degrease the surface with white gasoline.
d. Apply FIPG to the transfer case cover No. 1.
FIPG: Part No. 08826-00090, THREE BOND 1281 or equivalent





e. Install the transfer case cover No. 1 with the 8 bolts.
Torque: 19.6 Nm (200 kgf-cm, 14 ft. lbs.)

NOTICE:
^ Before pouring transfer oil, leave it at least an hour.
^ Assemble transfer case cover No. 1 within 10 minutes after FIPG application.





68. INSTALL TRANSFER DRAIN PLUG
a. Install a new gasket to the transfer drain plug.
b. Install the transfer drain plug to the transfer assy.
Torque: 49 Nm (500 kgf-cm, 36 ft. lbs.)





69. INSTALL TRANSFER CASE No. 2 PLUG
a. Install a new gasket to the transfer case No. 2 plug.
b. Temporary tighten the transfer case No. 2 plug to the transfer assy.





70. INSTALL TRANSFER CASE No. 1 PLUG
a. Install a new gasket to the transfer case No. 1 plug.
b. Install the transfer case No. 1 plug to the transfer assy.
Torque: 49 Nm (500 kgf-cm, 36 ft. lbs.)





71. INSTALL TRANSFER & TRANSAXLE SETTING STUD BOLT
a. Install the 4 stud bolts to the position in the illustration of the case.
Torque: 39.2 Nm (400 kgf-cm, 29 ft. lbs.)

HINT: In the case of this stud bolt in the illustration, the bottom side is the case installation side.

Stud bolt length:
a: 30 mm (1.1811 inch)
b: 12 mm (0.4724 inch)
c: 22 mm (0.8661 inch)

72. INSTALL TRANSFER ASSY
a. Install the transfer assy with the 6 nuts to the transaxle assy.
Torque: 68.6 Nm (700 kgf-cm, 51 ft. lbs.)

NOTICE:
^ Install the transfer assy to the transaxle assy horizontally.
^ Do not touch the oil seal part of the transfer assy when installation.





73. INSTALL TRANSFER STIFFENER PLATE RH
a. Install the stiffener plate RH with the 4 bolts.
Torque: 34 Nm (347 kgf-cm, 25 ft. lbs.)





74. INSTALL TRANSFER STIFFENER PLATE CENTER
a. Install the stiffener plate center with the 5 bolts.
Torque: 34 Nm (347 kgf-cm, 25 ft. lbs.)
75. INSTALL TRANSVERSE ENGINE ENGINE MOUNTING BRACKET
a. Install the engine mounting bracket with the 3 bolts.
Torque: 64 Nm (652 kgf-cm, 47 ft. lbs.)
76. INSTALL FRONT DRIVE SHAFT ASSY RH
77. INSTALL EXHAUST MANIFOLD
78. INSTALL EXHAUST MANIFOLD HEAT INSULATOR No. 1
79. INSTALL OXYGEN SENSOR
80. INSTALL MANIFOLD STAY
81. INSTALL FRONT SUSPENSION CROSSMEMBER W/CENTER MEMBER
82. INSTALL RACK & PINION POWER STEERING GEAR ASSY
SST 09023-38200
83. INSTALL VANE PUMP ASSY
84. INSTALL ENGINE ASSEMBLY WITH TRANSAXLE
SST 09670-00010
85. ADD TRANSFER OIL
Oil grade: API GL-5
Viscosity: SAE 90
Torque: 49 Nm (500 kgf-cm, 36 ft. lbs.)
86. ADD AUTOMATIC TRANSAXLE FLUID
87. ADD ENGINE OIL
88. ADD COOLANT
89. CHECK ENGINE OIL LEAK
90. CHECK ENGINE COOLANT LEAK
91. CHECK FUEL LEAK
92. CHECK EXHAUST GAS LEAK
93. INSPECT CHECK IDLE SPEED AND IGNITION TIMING
SST 09843-18030, 09843-18040
94. INSPECT CO/HC
95. INSPECT AND ADJUST FRONT WHEEL ALIGNMENT
96. CHECK ABS SPEED SENSOR SIGNAL