Operation CHARM: Car repair manuals for everyone.
Manuals through 2025 now available!

Our trusted friends have launched a new website named LEMON, which has newer manuals. It also contains all the CHARM manuals.

LEMON is the spiritual successor to CHARM, I recommend you try it!

Link: lemon-manuals.la or lemon-manuals.org.ua

(Some people have issue connecting. LEMON is investigating. For now, use Firefox or change your DNS server)

Or, hide this message: temporarily or permanently

System Specifications

Cylinder head cover sub-assy LH x Ventilation valve sub-assy 27 Nm (275 kgf-cm, 20 ft. lbs.)









Cylinder head x Cylinder block
1st 32 Nm (326 kgf-cm, 24 ft. lbs.)
2nd Turn 90°
3rd Turn 90°

If any cylinder head bolt is broken or deformed, replace it.


Cylinder head cover x Cylinder head 6.0 Nm (60 kgf-cm, 53 inch lbs.)


Cylinder head
Warpage Maximum 0.10 mm ( 0.039 inch)

Valve seat
Refacing angle 30°, 45°, 60°
Contacting angle 45°
Contacting width 1.0 - 1.4 mm ( 0.039 - 0.055 inch)

Valve guide bushing bore diameter
STD 10.285 - 10.306 mm ( 0.4049 - 0.4057 inch)
O/S 0.05 10.335 -10-356 mm ( 0.4069 - 0.4077 inch)

Cylinder head seat bolt thread inside diameter
STD 9,810 - 9.960 mm ( 0.3862 - 0.3921 inch)
Minimum 9.70 mm ( 0.3819 inch)

Protrusion height
Intake 9.2 - 9.8 mm ( 0.362 - 0.386 inch)
Exhaust 8.2 - 8.8 mm ( 0.323 - 0.346 inch)

Intake manifold assy x Cylinder head 18 Nm (185 kgf-cm, 13 ft. lbs.)

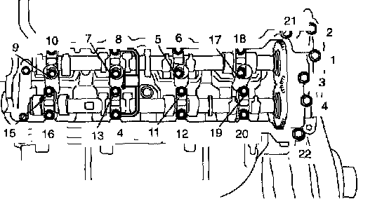
Camshaft Bearing Caps








Torque:
for bolt C 7.5 Nm (76 kgf-cm, 66 inch lbs.)
for others 16 Nm (163 kgf-cm, 12 ft. lbs.)

Exhaust manifold x Cylinder head 44 Nm (450 kgf-cm, 33 ft. lbs.)