Operation CHARM: Car repair manuals for everyone.
Manuals through 2025 now available!

Our trusted friends have launched a new website named LEMON, which has newer manuals. It also contains all the CHARM manuals.

LEMON is the spiritual successor to CHARM, I recommend you try it!

Link: lemon-manuals.la or lemon-manuals.org.ua

(Some people have issue connecting. LEMON is investigating. For now, use Firefox or change your DNS server)

Or, hide this message: temporarily or permanently

Main Relay (Computer/Fuel System): Testing and Inspection

INSPECTION

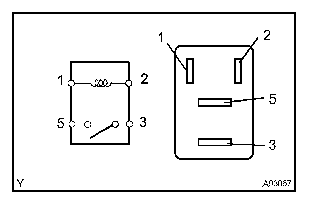
1. INSPECT RELAY (Marking: EFI, A/F)




a. Remove the EFI relay from the engine room J/B.
b. Remove the A/F relay from the engine room R/B No. 2.




c. Measure the resistance of the relay.

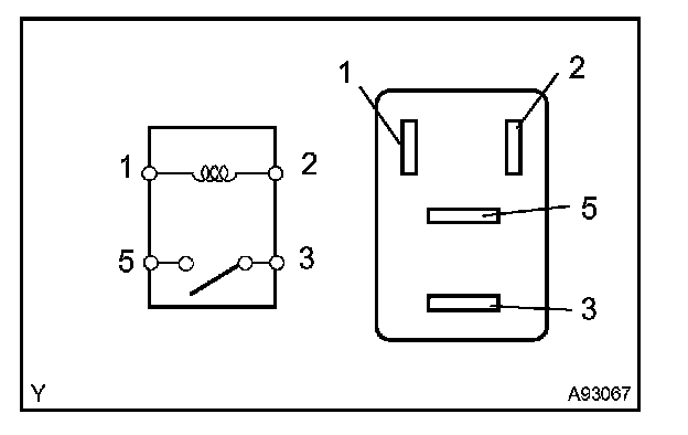
2. INSPECT CIRCUIT OPENING RELAY




a. Remove the circuit opening relay from the R/B sub-assy




b. Measure the resistance of the relay.