Operation CHARM: Car repair manuals for everyone.
Manuals through 2025 now available!

Our trusted friends have launched a new website named LEMON, which has newer manuals. It also contains all the CHARM manuals.

LEMON is the spiritual successor to CHARM, I recommend you try it!

Link: lemon-manuals.la or lemon-manuals.org.ua

(Some people have issue connecting. LEMON is investigating. For now, use Firefox or change your DNS server)

Or, hide this message: temporarily or permanently

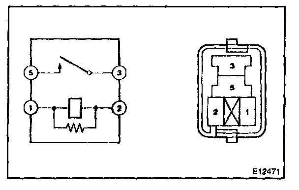
Main Relay (Computer/Fuel System): Testing and Inspection







E.F.I ECU RELAY
Continuity inspection.
1. Using an ohmmeter, check that continuity exists between each terminal.

Specified condition:
Between terminals 1 and 2:........................Continuity
Between terminals 3 and 5:........................No continuity

2. Using an ohmmeter, check that continuity exists between terminals 3 and 5 when the battery voltage is applied across terminals 1 and 2.











E.F.I. CIRCUIT OPENING RELAY ASSY
Continuity Inspection.
1. Using an ohmmeter, check that continuity exists between each terminal.

Specified condition:
Between terminals 1 and 2:...................Continuity
Between terminals 3 and 5:....................No continuity

2. Using an ohmmeter, check that continuity exists between terminals 3 and 5 when the battery voltage is applied across terminals 1 and 2.