Operation CHARM: Car repair manuals for everyone.
Manuals through 2025 now available!

Our trusted friends have launched a new website named LEMON, which has newer manuals. It also contains all the CHARM manuals.

LEMON is the spiritual successor to CHARM, I recommend you try it!

Link: lemon-manuals.la or lemon-manuals.org.ua

(Some people have issue connecting. LEMON is investigating. For now, use Firefox or change your DNS server)

Or, hide this message: temporarily or permanently

Multiplex Communication System

System Diagram:




SYSTEM DIAGRAM

SYSTEM DESCRIPTION
- The PRIUS primarily uses the 3 types of multiplex communication systems described below.
- The Controller Area Network (CAN) is a network of the vehicle control systems (engine electrical, chassis electrical, and hybrid system) and maintains communication between the ECUs.
- The Body Electronics Area Network (BEAN) is a network of the ECUs of the body electric system control and maintains communication between the ECUs.
- The Audio Visual Communication-Local Area Network (AVC-LAN) is a network of the ECUs of the audio visual system and the audio visual devices and maintains communication between the devices and the ECUs.




- These 3 types of multiplex communication systems are connected to the gateway ECU. The gateway ECU, which is provided with communication circuits that support the 3 types of multiplex communication systems, enables communication among the multiplex communication systems that are connected to the gateway ECU.
For example, to enable air conditioning control, the air conditioning ECU receives the engine coolant temperature signal that is input into the ECM via the CAN, gateway ECU and BEAN.

CAN System Diagram:




- The CAN in the PRIUS is established among the HV ECU, battery ECU, EPS ECU, ECM, skid control ECU, steering angle sensor*, yaw rate & deceleration sensor*, gateway ECU and DLC3.

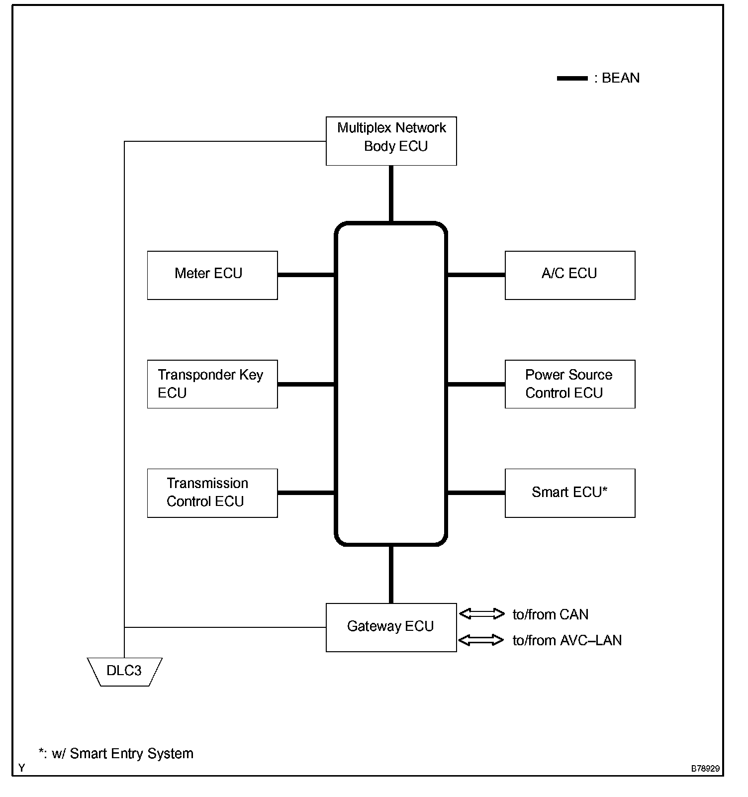
BEAN System Diagram:




- The BEAN in the PRIUS is established among the body ECU, meter ECU, A/C ECU, transponder key ECU, power source control ECU, transmission control ECU, smart ECU* and gateway ECU.

AVC-LAN System Diagram:




- The AVC-LAN is established among the multi - display, audio head unit, navigation ECU* and gateway ECU.

BASIC OF MPX (Multiplex Communication)

1. GENERAL




The PRIUS multiplex communication system uses serial communication, which converts multiple pieces of information into serial communication data. As a result, they can be transmitted through a single communication wire.




- Serial communication data consists of bits and frames. A bit is the basic unit that represents the amount of information. A bit is represented by binary values "0" or "1". A frame is a body of data that is transmitted together. A frame contains a "header" that indicates the beginning of the data and an "end" message that indicates the end of the data.

2. NETWORK STYLE




Based on serial communication, various ECUs are connected on a network to exchange various pieces of information. Such a system is called a multiplex communication system.
- The CAN communication on the PRIUS uses the multi star style bus connection. In this style of network, the ECUs are connected in a star shape. The ECUs cannot establish communication with other ECUs without passing through the master ECUs. For the Prius, the 2 junction connectors are the master ECUs and they are connected with main bus lines. Each of the junction connectors extends sub bus lines and communicates between all the connected ECUs.




- The BEAN on the PRIUS uses the ring and bus styles of networks to connect ECUs. The connection method is called a daisy chain. In a daisy chain, communication can be maintained even if there is an area that has an open circuit. The ECUs are connected in a ring form, which enables a signal that is output by a transmitting ECU to circle the ring and return to its original ECU. This ring also functions as a single common communication wire. The transmitting ECUs output signals through a common communication wire and the receiving ECUs input data through a common communication wire.




- The AVC-LAN in the PRIUS uses a star style. This style is centered on a master ECU, which holds a central control function. The ECUs are connected in a star shape. The ECUs cannot establish communication with other ECUs without passing through the master ECU. For the Prius, the multi display or audio head unit functions as a master ECU.

3. DIFFERENCE OF CAN, BEAN AND AVC-LAN




Data for respective protocols (CAN, BEAN and AVC-LAN) are arranged differently. Therefore, it is not possible to exchange data between different protocols. For this reason, data arrangement must be converted before transferring data to communication bus (CAN, BEAN and AVC-LAN). This conversion is called gateway function, which is performed by the gateway ECU.

Although BEAN and AVC-LAN communicate at almost the same speed, the CAN communication speed is much faster than BEAN or AVC-LAN. When the vehicle control system uses BEAN or AVC-LAN, which have a slower communication speed than CAN, it means that the system control could be delayed by the slow speed. For this reason, the vehicle control system uses CAN, which can send and receive a large volume of data at one time, in addition to being able to transmit at a faster speed.

4. COMMUNICATION WIRE




A single, automobile vinyl (AV) wire is used for BEAN communication. A twisted-pair wire is used for CAN and AVC-LAN communication.