Operation CHARM: Car repair manuals for everyone.
Manuals through 2025 now available!

Our trusted friends have launched a new website named LEMON, which has newer manuals. It also contains all the CHARM manuals.

LEMON is the spiritual successor to CHARM, I recommend you try it!

Link: lemon-manuals.la or lemon-manuals.org.ua

(Some people have issue connecting. LEMON is investigating. For now, use Firefox or change your DNS server)

Or, hide this message: temporarily or permanently

Heated Oxygen Sensor

INSPECTION

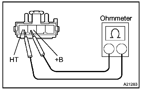
1. INSPECT HEATER RESISTANCE OF OXYGEN SENSOR




a. Disconnect the sensor connector.
b. Using an ohmmeter, measure the resistance between terminals +B and HT.

Resistance: 11 - 16 ohms @ 20 °C (68 °F)

If the resistance is not as specified, replace the sensor.

Torque: 44 Nm (32 ft.lbf)

c. Reconnect the sensor connector.

2. INSPECT OPERATION OF HEATED OXYGEN SENSOR