Operation CHARM: Car repair manuals for everyone.
Manuals through 2025 now available!

Our trusted friends have launched a new website named LEMON, which has newer manuals. It also contains all the CHARM manuals.

LEMON is the spiritual successor to CHARM, I recommend you try it!

Link: lemon-manuals.la or lemon-manuals.org.ua

(Some people have issue connecting. LEMON is investigating. For now, use Firefox or change your DNS server)

Or, hide this message: temporarily or permanently

System Specifications

Cylinder head x Cylinder block 1st 32 Nm (325 kgf-cm, 24 ft. lbs.)
2nd Turn 90° (Turn 90°)
3rd Turn 90° (Turn 90°)

Cylinder head
Warpage Maximum 0.10 mm (0.039 inch)

Valve seat
Refacing angle 30°, 45°, 60°
Contacting angle 45°
Contacting width 1.0 - 1.4 mm (0.039 - 0.055 inch)

Valve guide bushing bore diameter
STD 10.285 - 10.306 mm (0.4049 - 0.4057 inch)
O/S 0.05 10-335 - 10.356 mm (0.4069 - 0.4077 inch)

Cylinder head bolt thread inside diameter
STD 9.810 - 9.960 mm (0.3862 - 0.3921 inch)
Minimum 9.700 mm (0.3819 inch)

Protrusion height
Intake 9.2 - 9.8 mm (0.362 - 0.386 inch)
Exhaust 8.2 - 8.8 mm (0.323 - 0.346 inch)


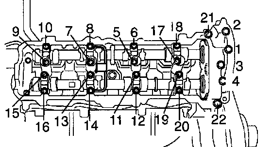
Cylinder Head





Torque 32 Nm (325 kgf-cm, 24 ft. lbs.)Initial Torque + 90° + 90°


Camshaft Bearing Cap





Torque:
Bolt A 7.5 Nm (80 kgf-cm, 69 inch lbs.)
Others 16 Nm (160 kgf-cm, 12 ft. lbs.)


Exhaust Manifold RH
Torque 44 Nm (450 kgf-cm, 32 ft. lbs.)


Exhaust Manifold RH
Torque 44 Nm (450 kgf-cm, 32 ft. lbs.)