Operation CHARM: Car repair manuals for everyone.
Manuals through 2025 now available!

Our trusted friends have launched a new website named LEMON, which has newer manuals. It also contains all the CHARM manuals.

LEMON is the spiritual successor to CHARM, I recommend you try it!

Link: lemon-manuals.la or lemon-manuals.org.ua

(Some people have issue connecting. LEMON is investigating. For now, use Firefox or change your DNS server)

Or, hide this message: temporarily or permanently

Power Window Control System

INSPECTION




1. INSPECT ONE-TOUCH POWER WINDOW SYSTEM CURRENT OF CIRCUIT (Using an ammeter)
a. Disconnect the connector from the master switch.
b. Connect the positive (+) lead from the ammeter to terminal 1 on the wire harness side connector and the negative (-) lead to negative (-) terminal of the battery.
c. Connect the positive (+) lead from the battery to terminal 2 on the wire harness side connector.
d. As the window goes down, check that the current flow is approximately 7 A.
e. Check that the current increases up to approximately 14.5 A or more when the window stops going down.

HINT: The PTC opens some 4 - 90 seconds after the window stops going down, so that check must be made before the PTC operates.

If the operation is not as specified, replace the master switch.







2. INSPECT REAR DOOR POWER WINDOW SWITCH CONTINUITY
If continuity is not as specified, replace the switch.

3. INSPECT POWER WINDOW SWITCH CIRCUIT
Refer to Body Control Systems; Testing and Inspection.







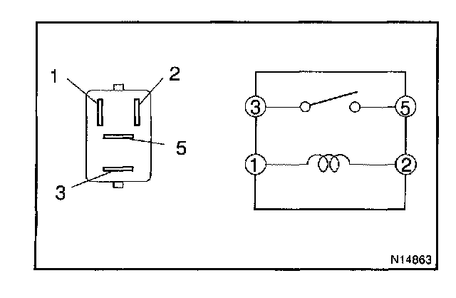
4. INSPECT POWER MAIN RELAY CONTINUITY
If continuity is not as specified, replace the switch.




5. Driver's door:
INSPECT POWER WINDOW MOTOR OPERATION
a. Connect the positive (+) lead from the battery terminal 1 and the negative (-) lead to terminal 2, and check that the motor turns clockwise.




b. Reverse the polarity, check that the motor turns counter clockwise
If operation is not as specified, replace the power window motor.

NOTE: Since the jam protection may not work properly be sure to conduct procedures described in "HOW TO RESET POWER MOTOR (RESET AND PULSE SWITCH)" after this inspection.

6. Passenger's door:
INSPECT POWER WINDOW MOTOR OPERATION




a. Connect the positive (+) lead from the battery to terminal 1 and the negative (-) lead to terminal 2, and check that the motor turns clockwise.




b. Reverse the polarity, check that the motor turns counter clockwise.
If operation is not as specified, replace the power window motor.

NOTE: Since the jam protection may not work properly be sure to conduct procedures described in "HOW TO RESET POWER MOTOR (RESET AND PULSE SWITCH)" after this inspection.




7. Rear right door:
INSPECT POWER WINDOW MOTOR OPERATION
a. Connect the positive (+) lead from the battery to terminal 1 and the negative (-) lead to terminals 2, check that the motor turns clockwise.




b. Reverse the polarity, check that the motor turns counter clockwise.
If operation is not as specified, replace the power window motor.




8. Rear left door:
INSPECT POWER WINDOW MOTOR OPERATION
a. Connect the positive (+) lead from the battery to terminal 1 and the negative (-) lead to terminal 2, check that the motor turns clockwise.




b. Reverse the polarity, check that the motor turns counterclockwise.
If operation is not as specified, replace the power window motor.




9. Front door:
INSPECT PTC OPERATION
a. Disconnect the connector from the wire harness side connector.
b. Connect the negative (-) lead from the ammeter to terminal 1 of the motor side connector and the positive (+) lead to negative terminal of the battery.
c. Connect the positive (+) lead from the battery to terminal 2 of the motor side connector, and raise the window to the fully closed position.




d. Continue to apply voltage, check that the current changes from approximately 14 A to less than 1 A within 4 to 90 seconds.
e. Disconnect the leads from terminals.
f. Approximately 90 seconds later, connect the positive (+) lead from the battery to terminal 1 and the negative (-) lead to terminal 2, check that the window begins to descend.
If operation is not as specified, replace the power window motor.




10. Rear door:
INSPECT PTC OPERATION
a. Disconnect the connector from the wire harness side connector.
b. Connect the negative (-) lead from the ammeter to terminal 1 of the motor side connector and the positive (+) lead to negative terminal of the battery.
c. Connect the positive (+) lead from the battery to terminal 2 of the motor side connector, and raise the window to the fully closed position.




d. Continue to apply voltage, check that the current changes from approximately 14 A to less than 1 A within 4 to 90 seconds.
e. Disconnect the leads from terminals.
f. Approximately 90 seconds later, connect the positive (+) lead from the battery to terminal 1 and the negative (-) lead to terminal 2, check that the window begins to descend.
If operation is not as specified, replace the power window motor.

11. INSPECT JAM PROTECTION FUNCTION

NOTE: Never, ever be caught any part of your body when checking.

HINT: In case of performing resetting of the limit switch, do checking after repeating up and down of the glass with automatic operation.

a. Confirmation of AUTO up operation:
Confirm that the window will be fully close with AUTO up operation.

b. Checking of the operation of the jam protection function:
1. Move up the window with AUTO up operation and check that the window will go down when it touches the inserted handle of the hammer.
2. Confirm that the window will then stop going down about 200 mm.

HINT: In case of removing the glass, glass guide, regulator and etc. be sure to perform checking of the jam protection function. If the jam protection is not function properly, adjust power window motor reset switch and pulse switch.