Operation CHARM: Car repair manuals for everyone.
Manuals through 2025 now available!

Our trusted friends have launched a new website named LEMON, which has newer manuals. It also contains all the CHARM manuals.

LEMON is the spiritual successor to CHARM, I recommend you try it!

Link: lemon-manuals.la or lemon-manuals.org.ua

(Some people have issue connecting. LEMON is investigating. For now, use Firefox or change your DNS server)

Or, hide this message: temporarily or permanently

Front Wheel Alignment

NOTICE: For Zero Point Calibration information, please refer to: TSB T-SB-0020-8 (3/25/08).

FRONT WHEEL ALIGNMENT
ADJUSTMENT
1. INSPECT TIRE





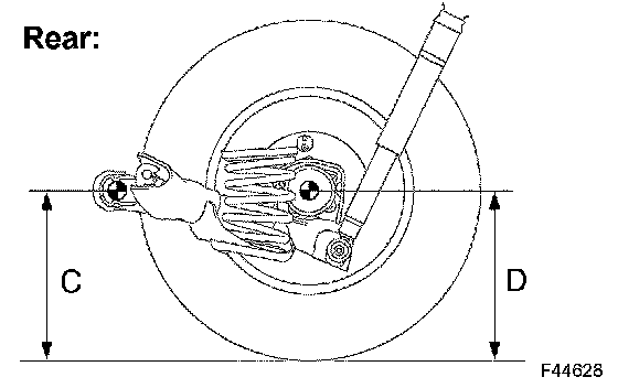
2. MEASURE VEHICLE HEIGHT

Vehicle height:





FF





4WD





Measuring points:
A: Ground clearance of front wheel center
B: Ground clearance of lower suspension arm No.2 set bolt center
C: Ground clearance of rear axle carrier bush set bolt center
D: Ground clearance of rear wheel center

NOTICE: Before inspecting the wheel alignment, adjust the vehicle height to the specified value.

If the vehicle height is not the specified value, Adjust it by pushing down or lifting the body.





3. INSPECT TOE-IN





Toe-in

If the toe-in is not within the specified value, adjust it at the rack ends.
4. ADJUST TOE-IN
a. Remove the rack boot set clips.
b. Loosen the tie rod end lock nuts.
c. Turn the right and left rack ends by an equal amount to adjust the toe-in.

HINT: Adjust the toe-in to the center of the specified value as much as possible.





d. Make sure that the lengths of the right and left rack ends are the same.
e. Torque the tie rod end lock nuts.
Torque: 74 Nm (755 kgf-cm, 55 ft. lbs.)
f. Place the boots on the seats and install the clips.

HINT: Make sure that the boots are not twisted.





5. INSPECT WHEEL ANGLE
a. Turn the steering wheel fully and measure the turning angle.

Wheel turning angle:





FF





4WD

If the right and left inside wheel angles differ from the specified value, check the right and left rack end lengths.





6. INSPECT CAMBER, CASTER AND STEERING AXIS INCLINATION
a. Install the camber-caster-kingpin gauge or position the vehicle on the wheel alignment tester.
b. Inspect the camber, caster and steering axis inclination.





FF





4WD

If the caster and steering axis inclination are not within the specified values, after the camber has been correctly adjusted, recheck the suspension parts for damaged and/or worn out parts.
7. ADJUST CAMBER

NOTICE: After the camber has been adjusted, inspect the toe-in.

a. Remove the front wheel.





b. Remove the 2 nuts on the lower side of the shock absorber.

NOTICE: When removing the nut, hold the bolt not to rotate.

c. Clean the installation surfaces of the shock absorber and the steering knuckle.
d. Temporarily install the 2 nuts.





e. Adjust the camber by pushing or pulling the lower side of the shock absorber in the direction in which the camber adjustment is required.
f. Tighten the nuts.
Torque: 210 Nm (2,140 kgf-cm, 155 ft. lbs.)

NOTICE: When installing nut, stop the bolt from rotating and torque the nut.

g. Install the front wheel.
Torque: 103 Nm (1,050 kgf-cm, 76 ft. lbs.)
h. Check the camber.

HINT:
- Adjust the camber to the center of the specified value as much as possible.
- Adjusting value for the set bolts is 6' - 30' (0.1° - 0.5°). If the camber is not within the specified value, using the following table, estimate how much additional camber adjustment will be required, and select the camber adjusting bolt.





NOTICE: Tighten the adjusting bolt with a washer and a new nut.

i. Perform the procedure mentioned above again. At step (b), replace 1 or 2 selected bolts.

HINT: When replacing the 2 bolts, replace 1 bolt for each time.