Operation CHARM: Car repair manuals for everyone.
Manuals through 2025 now available!

Our trusted friends have launched a new website named LEMON, which has newer manuals. It also contains all the CHARM manuals.

LEMON is the spiritual successor to CHARM, I recommend you try it!

Link: lemon-manuals.la or lemon-manuals.org.ua

(Some people have issue connecting. LEMON is investigating. For now, use Firefox or change your DNS server)

Or, hide this message: temporarily or permanently

Crankshaft, Engine

INSPECT CRANKSHAFT





a. Using a dial indicator and V-blocks, measure the runout as shown in the illustration.
Maximum circle runout: 0.06 mm (0.0024 inch)





b. Using a micrometer, measure the diameter of each main journal.
Diameter: 60.988 to 61.000 mm (2.4011 to 2.4016 inch)
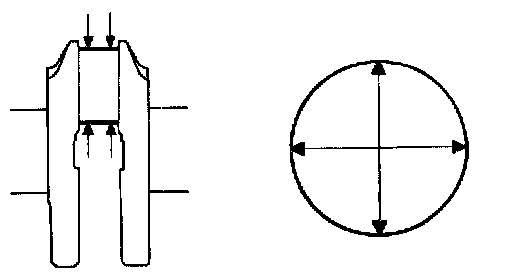
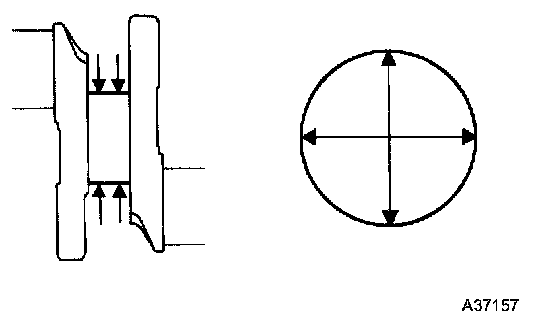
c. Check each main journal for taper and out-of-round as shown.
Maximum taper and out-of-round: 0.02 mm (0.0008 inch)





d. Using a micrometer, measure the diameter of each crank pin.
Diameter: 52.992 to 53.000 mm (2.0863 to 2.0866 inch)
e. Check each crank pin for taper and out-of-round as shown.
Maximum taper and out-of-round: 0.02 mm (0.0008 inch)



INSPECT CRANKSHAFT OIL CLEARANCE






HINT: Main bearings come in widths of 22.4 mm (0.882 inch) and 19.0 mm (0.748 inch). Install the 22.4 mm (0.882 inch) bearings in the No. 1 and No. 4 cylinder block journal positions with the main bearing cap. Install the 19.0 mm (0.748 inch) bearings in the No. 2 and No. 3 positions.

a. Clean each main journal and bearing.





b. Align the bearing key with the keyway of the cylinder block, and push in the 4 upper bearings.

NOTICE: Do not apply engine oil to the bearing and its contact surface.





c. Align the bearing key with the keyway of the main bearing cap, and push in the 4 lower bearings.

NOTICE: Do not apply engine oil to the bearing and its contact surface.

HINT: A number is marked on each main bearing cap to indicate the installation position.

d. Place the crankshaft on the cylinder block.





e. Lay a strip of plastigage across each journal.





f. Examine the front marks and numbers and install the bearing caps on the cylinder block.