Operation CHARM: Car repair manuals for everyone.
Manuals through 2025 now available!

Our trusted friends have launched a new website named LEMON, which has newer manuals. It also contains all the CHARM manuals.

LEMON is the spiritual successor to CHARM, I recommend you try it!

Link: lemon-manuals.la or lemon-manuals.org.ua

(Some people have issue connecting. LEMON is investigating. For now, use Firefox or change your DNS server)

Or, hide this message: temporarily or permanently

Windshield: Service and Repair

Windshield Glass:






REPLACEMENT

HINT: The installation is in the reverse order of the removal. However, when there is a special point concerning the installation, it is indicated.

1. REMOVE ROOF HEADLINING ASSEMBLY
a. Remove the front door weatherstrip LH.
b. Remove the front door weatherstrip RH.
c. Remove the front pillar garnish LH.
d. Remove the front pillar garnish RH.
e. Remove the LH visor.
f. Remove the RH visor.
g. Remove the assist grip.
h. Remove the roof console box.
i. Remove the 2 visor holders.
j. Remove the roof console box assembly.
k. W/ Sliding roof:
Remove the sun roof opening trim moulding.

l. Remove the roof headlining assembly.

2. REMOVE INNER REAR VIEW MIRROR ASSEMBLY
3. REMOVE COWL TOP VENTILATOR LOUVER SUB-ASSEMBLY
a. Remove the 2 front wiper arm head caps.
b. Remove the FR wiper arm LH.
c. Remove the FR wiper arm RH.
d. Remove the front fender to cowl side seal LH.
e. Remove the front fender to cowl side seal RH.
f. Remove the cowl top ventilator louver.




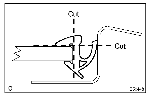
4. REMOVE WINDSHIELD MOULDING OUTER UPPER
a. Using a knife, cut off the moulding, as shown in the illustration.

NOTE: Do not damage the body with the knife.

b. Remove the remaining moulding.

HINT: When removing, make a partial cut, then pull and remove it by hand.




c. W/ Deicer:
Disconnect the connector, as shown in the illustration.




5. REMOVE WINDSHIELD GLASS
a. Pass a piano wire between the vehicle body and glass from the interior.
b. Tie both wire ends to wooden blocks or similar objects.






HINT: Apply protective tape to the outer surface to prevent the surface from being scratched.

NOTE:
- When separating the glass, take care not to damage the paint and the interior and exterior ornaments.
- To prevent the safety pad from being scratched when removing the glass, place a plastic sheet between the piano wire and safety pad.

c. Cut off the adhesive by pulling piano wire around the glass.
d. Disengage the stoppers.
e. Using a suction cup, remove the glass.

NOTE: Leave as much adhesive on the body as possible when removing the glass.




6. CLEAN WINDSHIELD GLASS
a. Using a scraper, remove the damaged stoppers, dam and adhesive sticking to the glass.
b. Clean the outer circumference of the glass with white gasoline.

NOTE: Do not touch the glass surface after cleaning it.




7. INSTALL WINDSHIELD GLASS STOPPER NO.2
a. Coat the installation part of the stopper with Primer G.

NOTE:
- Allow the primer coating to dry for 3 minutes or more.
- Do not keep any of the opened Primer G for later use.
- Do not apply too much primer.




b. Install 2 new stoppers onto the glass, as shown in the illustration.




8. INSTALL WINDSHIELD GLASS STOPPER NO.1
a. Install 2 new stoppers to the vehicle body, as shown in the illustration.

9. INSTALL DAM, WINDOW GLASS ADHESIVE
a. Coat the installation part of the window glass adhesive dam with Primer G.

NOTE:
- Allow the primer coating to dry for 3 minutes or more.
- Do not apply too much primer.







b. Install a new dam, applying double-sided tape all the way around the glass except where the dam is installed, as shown in the illustration.

10. INSTALL WINDSHIELD MOULDING OUTER UPPER
a. Using a brush or sponge, coat the edge of the glass and the contact surface with Primer G.

NOTE:
- Allow the primer coating to dry for 3 minutes or more.
- Do not coat the adhesive with Primer G.
- Do not keep any of the opened Primer G for later use.

b. Install the moulding.




11. INSTALL WINDSHIELD GLASS
a. Clean and shape the contact surface of the vehicle body.
1. Using a knife, cut away any rough adhesive on the contact surface of the vehicle body to ensure the appropriate surface shape.

HINT: Leave as much adhesive on the vehicle body as possible.

2. Clean the contact surface of the vehicle body with a piece of shop rag saturated with cleaner.

HINT: Even if all the adhesive has been removed, clean the vehicle body.




b. Position the glass.
1. Using a suction cup, place the glass in the correct position.
2. Check that the whole contact surface of the glass rim is perfectly even.
3. Place reference marks between the glass and vehicle body.

NOTE: Check that the stoppers are attached to the vehicle body correctly.

HINT: When reusing the glass, check and correct the reference mark positions.

4. Remove the glass.




c. Using a brush, coat the exposed part of the vehicle body with Primer M.

NOTE:
- Allow the primer coating to dry for 3 minutes or more.
- Do not coat the adhesive with Primer M.
- Do not keep any of the opened Primer M for later use.




d. Using a brush or sponge, coat the edge of the glass and the contact surface with Primer G.

HINT: If an area other than that specified is coated by accident, wipe off the primer with a clean shop rag before it dries.

NOTE:
- Allow the primer coating to dry for 3 minutes or more.
- Do not keep any of the opened Primer G for later use.




e. Apply adhesive.
Adhesive: Part No. 08850-00801 or equivalent

1. Cut off the tip of the cartridge nozzle, as shown in the illustration.






HINT: After cutting off the tip, use all adhesive within the time described in the table.

2. Load the sealer gun with the cartridge.




3. Coat the glass with adhesive, as shown in the illustration.




f. Install the glass.
1. Using a suction cup, position the glass so that the reference marks are aligned, and press it in gently along the rim.

NOTE:
- Allow the primer coating to dry for 3 minutes or more.
- Check that the stoppers are attached to the vehicle body correctly.
- Check the clearance between the vehicle body and glass.

2. Lightly press the front surface of the glass to ensure a close fit.




3. Using a scraper, remove any excess or protruding adhesive.






HINT: Apply adhesive onto the glass rim.






NOTE: Take care not to drive the vehicle for the time described in the table.

12. INSPECT FOR LEAKS AND REPAIR
a. Conduct a leak test after the adhesive has completely hardened.
b. Seal any leaks with auto glass sealer.