Operation CHARM: Car repair manuals for everyone.
Manuals through 2025 now available!

Our trusted friends have launched a new website named LEMON, which has newer manuals. It also contains all the CHARM manuals.

LEMON is the spiritual successor to CHARM, I recommend you try it!

Link: lemon-manuals.la or lemon-manuals.org.ua

(Some people have issue connecting. LEMON is investigating. For now, use Firefox or change your DNS server)

Or, hide this message: temporarily or permanently

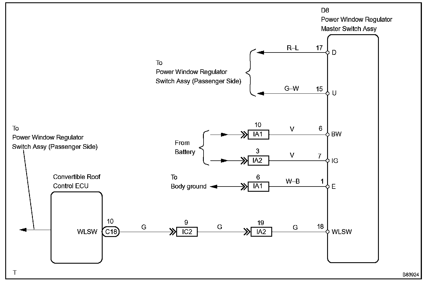
Remote Up/Down Function Does Not Operate

REMOTE UP/DOWN FUNCTION DOES NOT OPERATE

CIRCUIT DESCRIPTION

With the ignition switch ON, the power window regulator master switch transmits remote switch signals to the passenger side power window regulator switch. Then, the regulator switch drives the power window regulator motor.

Wiring Diagram:






Step 1 - 2:




Step 3:




Step 4:




INSPECTION PROCEDURE