Operation CHARM: Car repair manuals for everyone.
Manuals through 2025 now available!

Our trusted friends have launched a new website named LEMON, which has newer manuals. It also contains all the CHARM manuals.

LEMON is the spiritual successor to CHARM, I recommend you try it!

Link: lemon-manuals.la or lemon-manuals.org.ua

(Some people have issue connecting. LEMON is investigating. For now, use Firefox or change your DNS server)

Or, hide this message: temporarily or permanently

Power Window Control System (Coupe)

INSPECTION

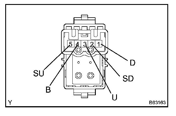
INSPECT POWER WINDOW REGULATOR MASTER SWITCH ASSEMBLY




a. Remove the master switch.
b. Measure the resistance of the switch when the switch is operated.







Standard:







c. Check the master switch AUTO lamp.

INSPECT POWER WINDOW REGULATOR SWITCH ASSEMBLY




a. Remove the power window regulator switch.
b. Measure the resistance of the switch when the switch is operated.




Standard: