Operation CHARM: Car repair manuals for everyone.
Manuals through 2025 now available!

Our trusted friends have launched a new website named LEMON, which has newer manuals. It also contains all the CHARM manuals.

LEMON is the spiritual successor to CHARM, I recommend you try it!

Link: lemon-manuals.la or lemon-manuals.org.ua

(Some people have issue connecting. LEMON is investigating. For now, use Firefox or change your DNS server)

Or, hide this message: temporarily or permanently

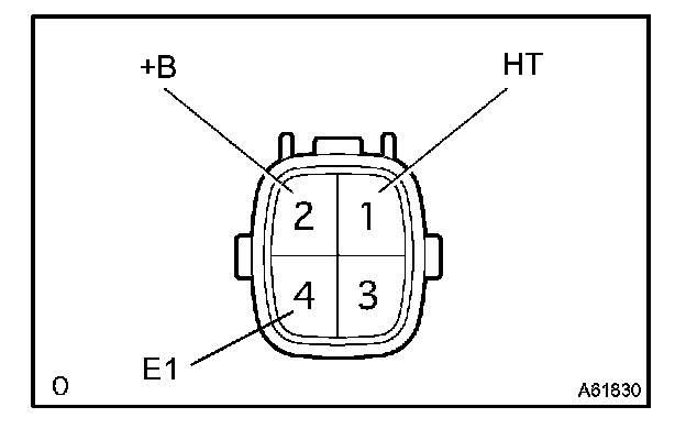
Oxygen Sensor: Testing and Inspection

INSPECT HEATED OXYGEN SENSOR (BANK1,BANK2 OXYGEN SENSOR)







a. Using an ohmmeter, measure resistance between the terminals.

If the resistance is not as specified, replace the sensor.

INSPECT HEATED OXYGEN SENSOR (BANK1,BANK2 OXYGEN SENSOR NO.2)







a. Using an ohmmeter, measure resistance between the terminals.

If the resistance is not as specified, replace the sensor.