Operation CHARM: Car repair manuals for everyone.
Manuals through 2025 now available!

Our trusted friends have launched a new website named LEMON, which has newer manuals. It also contains all the CHARM manuals.

LEMON is the spiritual successor to CHARM, I recommend you try it!

Link: lemon-manuals.la or lemon-manuals.org.ua

(Some people have issue connecting. LEMON is investigating. For now, use Firefox or change your DNS server)

Or, hide this message: temporarily or permanently

System Specifications

Cylinder Head Warpage
Maximum warpage 0.10 mm (0.0039 inch)

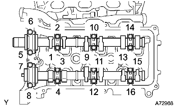
No.1 (RH)

Cylinder Head Set Bolt





Standard outside diameter 10.85 to 11.00 mm (0.4272 to 0.4331 inch)
Minimum outside diameter 10.7 mm (0.421 inch)

Cylinder Head Torque and Sequence

HINT:
The cylinder head bolts are tightened in 2 successive steps (steps (3) and (5)).
If any cylinder head bolt is broken or deformed, replace it.

Apply a light coat of engine oil to the threads of the cylinder head bolts.





Using several steps, tighten each bolt uniformly with a 10 mm bi-hexagon wrench in the sequence as shown in the illustration.
Torque 36 Nm (367 kgf-cm, 27 ft. lbs.)

NOTICE: Do not drop the washers into the cylinder head.





Mark the front side of each cylinder head bolt with paint.
Retighten the cylinder head bolts 180° as shown.
Check that the painted marks are now at 180° opposite to the engine front.

Camshaft Bearing Torque and Sequence





Place the 2 camshafts onto the cylinder head with the cam lobes of No.1 cylinder facing each direction as shown in the illustration.





Apply a light coat of engine oil to the threads and under the heads of the bearing cap bolts.





Using several steps, install and tighten the 16 bearing cap bolts uniformly in the sequence as shown in the illustration.
Torque:
9.0 Nm (92 kgf-cm, 80 inch lbs.) for 10 mm (0.39 inch) head
24 Nm (245 kgf-cm, 18 ft. lbs.) for 12 mm (0.47 inch) head

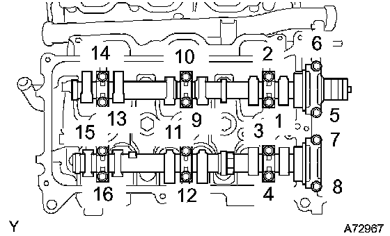
No.2 (LH)

Cylinder Head Set Bolt
Standard outside diameter 10.85 to 11.00 mm (0.4272 to 0.4331 inch)
Minimum outside diameter 10.7 mm (0.421 inch)

Cylinder Head Torque and Sequence





Using several steps, tighten each bolt uniformly with a 10 mm bi-hexagon wrench in the sequence as shown in the illustration.
Torque: 36 Nm (367 kgf-cm, 27 ft. lbs.)





Mark the front side of each cylinder head bolt with paint.
Retighten the cylinder head bolts 180° as shown.
Check that the painted marks are now at 180° opposite to the engine front.

Camshaft Bearing Torque and Sequence





Using several steps, install and tighten the 16 bearing cap bolts uniformly in the sequence as shown in the illustration.
Torque:
9.0 Nm (92 kgf-cm, 80 inch lbs.) for 10 mm (0.39 inch) head
24 Nm (245 kgf-cm, 18 ft. lbs.) for 12 mm (0.47 inch) head

Exhaust Manifold Sub-Assembly
Install the exhaust manifold with the 6 nuts. Tighten the nuts uniformly in several steps.
Torque 30 Nm (306 kgf-cm, 22 ft. lbs.)