Operation CHARM: Car repair manuals for everyone.
Manuals through 2025 now available!

Our trusted friends have launched a new website named LEMON, which has newer manuals. It also contains all the CHARM manuals.

LEMON is the spiritual successor to CHARM, I recommend you try it!

Link: lemon-manuals.la or lemon-manuals.org.ua

(Some people have issue connecting. LEMON is investigating. For now, use Firefox or change your DNS server)

Or, hide this message: temporarily or permanently

Front Wheel Alignment






NOTICE: w/ VSC: Be sure to perform the steering angle sensor zero point calibration after adjusting the front wheel alignment or replacing VSC related components.

NOTICE: For Zero Point Calibration information, please refer to: TSB T-SB-0020-8 (3/25/08).

FRONT WHEEL ALIGNMENT ADJUSTMENT
1. INSPECT TIRE




2. MEASURE VEHICLE HEIGHT




XL




TOURING




XLS




LIMITED

Measuring points:
A: Ground clearance of front wheel center
B: Ground clearance of front suspension arm sub-assembly lower No. 2 set bolt head center
C: Ground clearance of strut rod set bolt center
D: Ground clearance of rear wheel center

NOTICE: Before inspecting the wheel alignment, adjust the vehicle height to the specified value.

HINT: Bounce the vehicle at the corners up and down to stabilize the suspension and inspect the vehicle height.





3. INSPECT TOE-IN





Toe-in

HINT:
- Measure "C - D" only when "A + B" cannot be measured.
- If toe-in is not within the specified range, adjust it at the rack ends.

4. ADJUST TOE-IN
a. Remove the rack boot set clips.
b. Loosen the tie rod end lock nuts.
c. Turn the right and left rack ends by an equal amount to adjust toe-in.

HINT: Try to adjust toe-in to the center of the specified range.





d. Make sure that the lengths of the right and left rack ends are the same.
e. Torque the tie rod end lock nuts.
Torque: 74 Nm (755 kgf-cm, 55 ft. lbs.)
f. Place the boots on the seats and install the clips.

HINT: Make sure that the boots are not twisted.

g. w/ VSC: Perform VSC system calibration.





5. INSPECT WHEEL ANGLE
a. Turn the steering wheel fully left and right and measure the turning angle.
Wheel turning angle:





XL





TOURING





XLS





LIMITED

If the right and left inside wheel angles differ from the specified range, check and adjust the right and left rack end lengths.





6. INSPECT CAMBER, CASTER AND STEERING AXIS INCLINATION
a. Put the front wheel on the center of the alignment tester.
b. Install the camber-caster-kingpin gauge at the center of the axle hub or drive shaft.
c. Inspect the camber, caster and steering axis inclination.
Camber, caster and steering axis inclination:





XL





TOURING





XLS





LIMITED

Check the suspension parts for damaged and/or worn out parts if the caster and steering axis inclination are not within the specified range after the camber has been correctly adjusted.

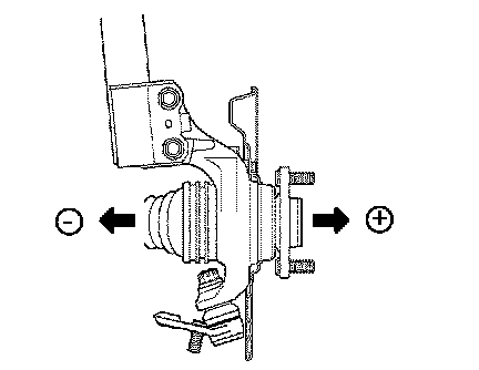
7. ADJUST CAMBER

NOTICE: Inspect toe-in after the camber has been adjusted.

a. Remove the front wheel.





b. Remove the 2 nuts on the lower side of the shock absorber.

NOTICE: Keep the bolts inserted.

c. Clean the installation surfaces of the shock absorber and the steering knuckle.
d. Temporarily install the 2 nuts.





e. Fully push or pull the front axle hub in the direction of the required adjustment.
Tighten the nuts.
Torque: 210 Nm (2,140 kgf-cm, 155 ft. lbs.)

NOTICE: Keep the bolts from rotating and torque the nuts when installing the nuts.

g. Install the front wheel.
Torque: 103 Nm (1,050 kgf-cm, 76 ft. lbs.)
h. Check the camber.
If the measured value is not within the specification, calculate the required adjustment amount using the formula below.
(Camber adjustment amount) = Specified range medium - measured value








Check installed bolts combination. Select appropriate bolts from the table to adjust the camber to within the specified range.





Table (1) (Move the axle toward positive side)





Selected Bolt Combination

The body and suspension may be damaged if the camber is not correctly adjusted according to the above table.

NOTICE: Replace the nut with a new one when replacing the bolt.

i. Repeat the steps mentioned above. At step (b), replace 1 or 2 selected bolts.

HINT: Replace one bolt at a time when replacing 2 bolts.





Table (2) (Move the axle toward negative side)





Selected Bolt Combination

The body and suspension may be damaged if the camber is not correctly adjusted according to the above table.

NOTICE: Replace the nut with a new one when replacing the bolt.

j. Repeat the steps mentioned above. At step (b), replace 1 or 2 selected bolts.

HINT: Replace one bolt at a time when replacing 2 bolts.